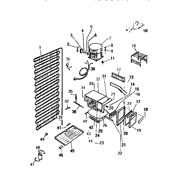
RA186GCW1 04 – COOLING SYSTEMS