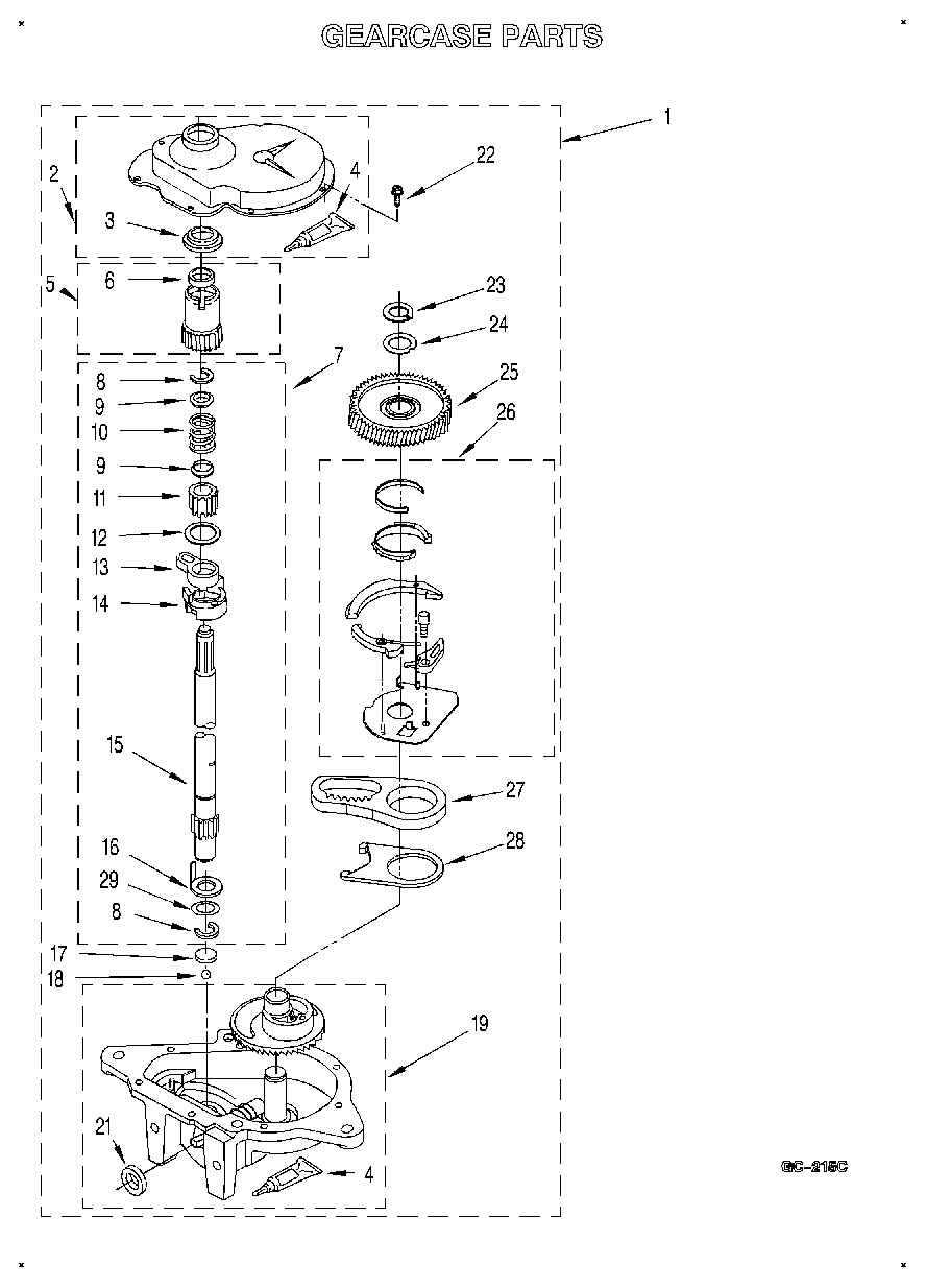
RAB4132AW1 10 – GEARCASE