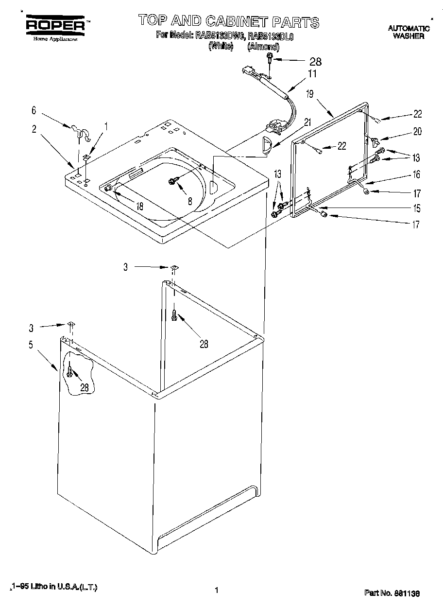
RAB5133DW0 01 – TOP AND CABINET, LIT/OPTIONALadmin2025-04-26T12:48:35+00:00RAB5133DW0 01 – TOP AND CABINET, LIT/OPTIONAL ProductsPositionProduct350930 Whirlpool White Spray PaintGuiGolden HarvestGolden Harvest (Uncut)Shipping KitWPL 89121WPL LIT3351736LUBRICANT (USE ONLY IN BRAKE SHOE ASSEMBLY ON ROLLER & PIN)WPL LIT3360057WP285195 Whirlpool Sealer Assembly72110 Whirlpool Dryer Touch-Up Paint, Golden Harvest 6 Oz63580 Whirlpool Washer Fabric Softener Dispenser350572 Whirlpool Oil Transmission 15 Oz350938 Whirlpool Spray Gun350956 Whirlpool Spray Assembly72017 Whirlpool Appliance Touch-Up Paint WhiteWPL LIT3358676799344 Whirlpool Refrigerator PaintDrain Protector (Not Included)WP72107 Whirlpool Touchup285320 Whirlpool Washer Siphon Break KitAlmond (Uncut)1WP357213 Whirlpool Hinge Stopper2Top (For Designer White Model)2Top (For Almond Model)3WP62750 Whirlpool Spacer5Cabinet (Almond)5Cabinet (White)6WP62780 Whirlpool Cabinet Clip8WP3356311 Whirlpool Screw11285671 Whirlpool Lid Switch Assembly13SCREW15WP54584 Whirlpool Hinge16WP54583 Whirlpool Hinge17Bumper, Lid Hinge18WP21258 Whirlpool Washer Lid Hinge Bearing19Lid (Almond)19Lid (White)20WP358684 Whirlpool Strike Assembly21WP3362952 Whirlpool Bezel22WP9724509 Whirlpool Bumper28SCREW