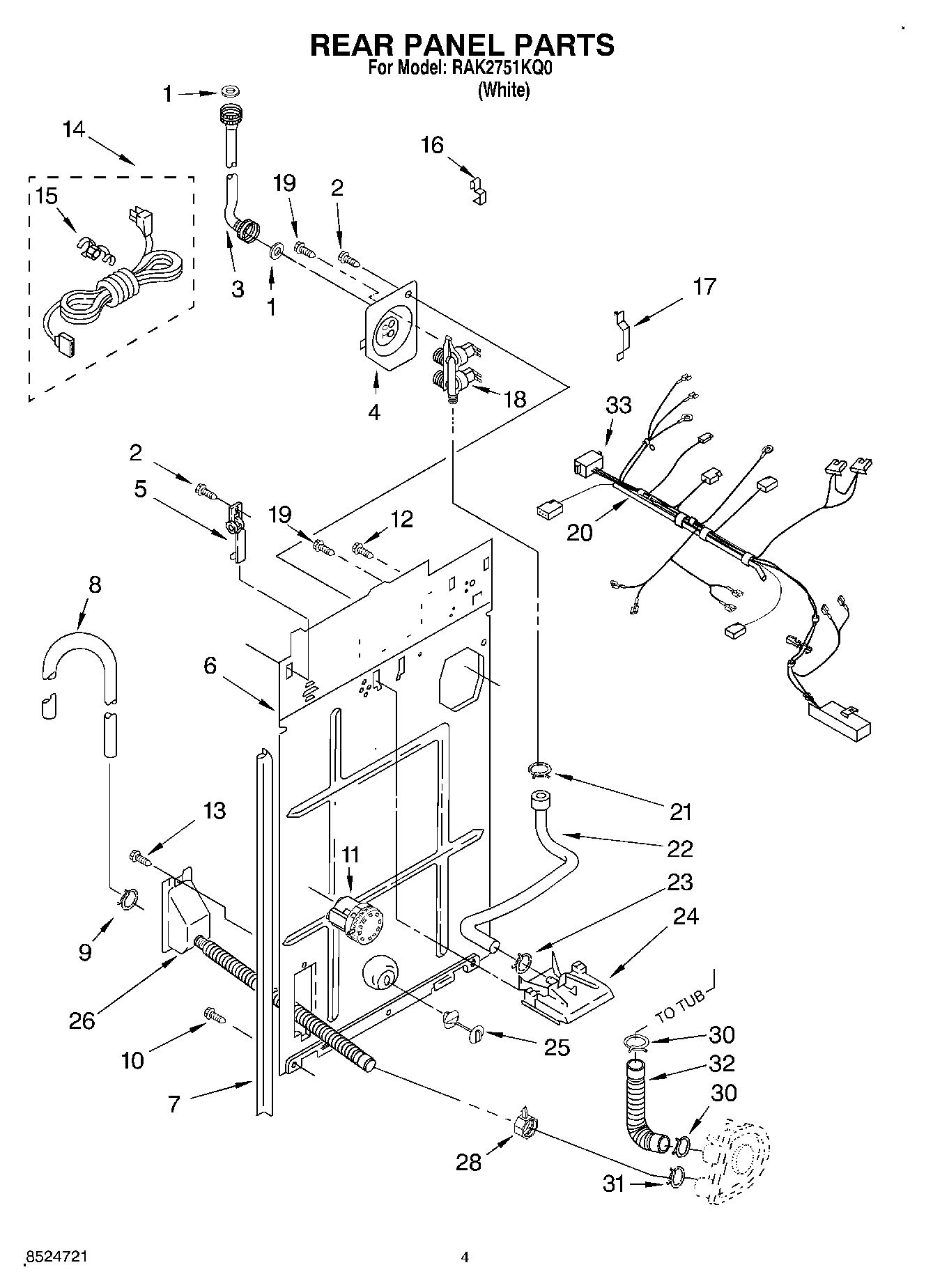
RAK2751KQ0 03 – REAR PANELadmin2025-04-26T12:49:05+00:00RAK2751KQ0 03 – REAR PANEL ProductsPositionProduct1WP16123 Whirlpool Washer2WP488729 Whirlpool Refrigerator Door Screw3WP89503 Whirlpool Washer Fill Hose4285930 Whirlpool Plate5Hinge, Console (2)6285929 Whirlpool Rear Panel7WP62747 Whirlpool Pad8285666 Whirlpool Drain Hose 10'8WP96743 Whirlpool Hose8285702 Whirlpool Extensions9WP356138 Whirlpool Hose Clamp10WP3390631 Whirlpool Screw11W10339019 Whirlpool Washer Water Level Switch12WP3351614 Whirlpool Screw14285928 Whirlpool Power Cord Assembly15Strain Relief, Power Cord16Clip, Harness17Clip, Harness18285805 Whirlpool Washer Water Inlet Valve19WP9740848 Whirlpool Dishwasher Screw20WP353244 Whirlpool Hose21WP596669 Whirlpool Hose Clamp22HOSE24WP3347034 Whirlpool Vacuum Break25WP8519200 Whirlpool Support Assembly26WPW10358149 Whirlpool Hose28Clamp, Hose30WP616099 Whirlpool Clamp31WP285655 Whirlpool Hose Clamp32285871 Whirlpool Hose and Clamp33Harness, Wiring (For Detail See Parts Page) Also See Clips.