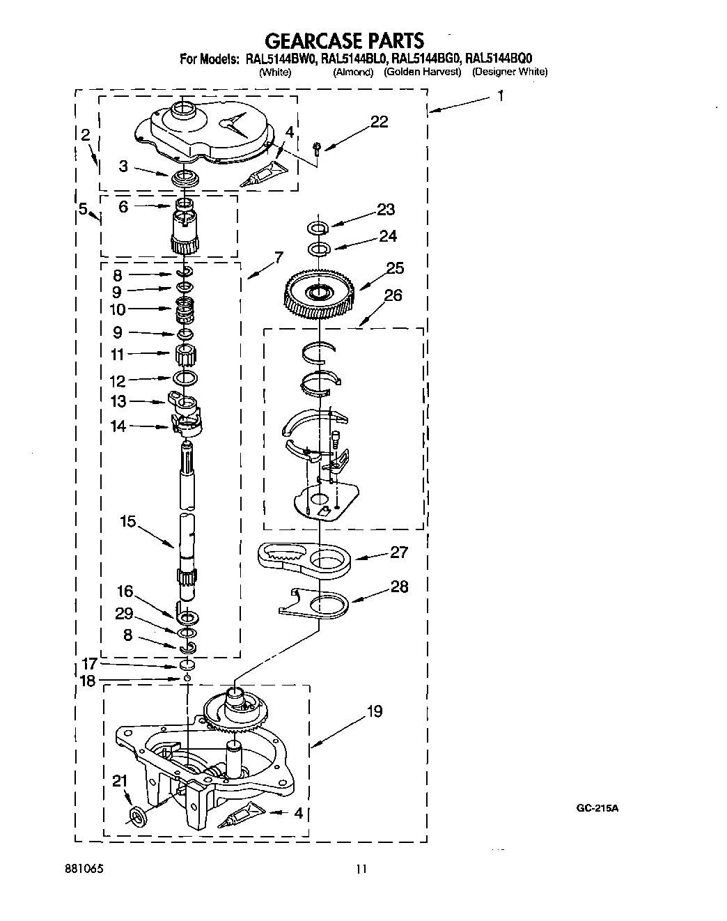
RAL5144BL0 09 – GEARCASE