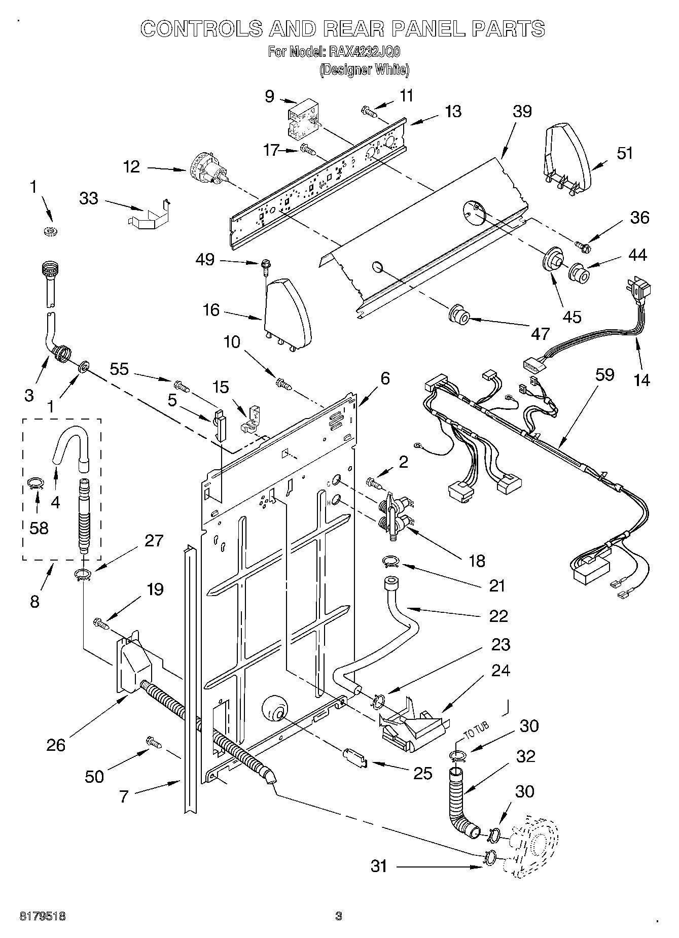
RAX4232JQ0 02 – CONTROLS AND REAR PANELadmin2025-04-26T11:34:22+00:00RAX4232JQ0 02 – CONTROLS AND REAR PANEL ProductsPositionProduct1WP16123 Whirlpool Washer2WP9740848 Whirlpool Dishwasher Screw3WP89503 Whirlpool Washer Fill Hose4WP3357027 Whirlpool Nozzle Assembly5Hinge, Console (2)6WP3357978 Whirlpool Rear Panel7WP62747 Whirlpool Pad8285664 Whirlpool Drain Hose8285666 Whirlpool Drain Hose 10'8285702 Whirlpool Extensions9WP3954563 Whirlpool Timer Assembly10WP3351614 Whirlpool Screw11WP90767 Whirlpool Screw12W10339228 Whirlpool Washer Water Level Switch13WP3948608 Whirlpool Bracket14W10820044 Whirlpool Power Cord15Strain Relief, Power Cord173400073 Whirlpool Screw18285805 Whirlpool Washer Water Inlet Valve21WP596669 Whirlpool Hose Clamp22HOSE24WP3347034 Whirlpool Vacuum Break25WP8519200 Whirlpool Support Assembly26WPW10358149 Whirlpool Hose27WP356138 Whirlpool Hose Clamp30WP616099 Whirlpool Clamp31WP285655 Whirlpool Hose Clamp32285871 Whirlpool Hose and Clamp33Clip, Harness & Pressure Hose36W10915367 Whirlpool Screw Assembly39Panel, Console44W10807860 Whirlpool White Control Knob45Dial, Timer47Knob, Control (2)49WP388326 Whirlpool Screw50WP3390631 Whirlpool Screw51279960 Whirlpool Endcap Assembly55WP488729 Whirlpool Refrigerator Door Screw58WP3357331 Whirlpool Clamp59Harness, Wiring