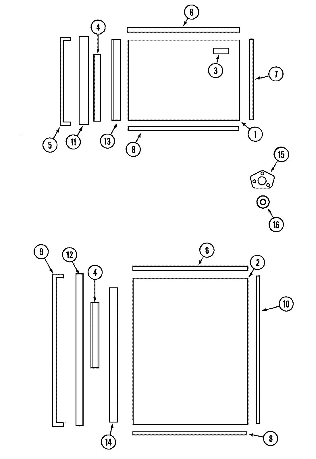
RAX5000CXB 01 – TRIM & PANEL KITadmin2025-04-26T09:03:57+00:00RAX5000CXB 01 – TRIM & PANEL KIT ProductsPositionProduct1MAY 69088-222MAY 69088-213MAY 67194-14MAY 69103-15MAY 69893-16MAY 69894-107MAY 69894-38MAY 69894-119MAY 69893-210MAY 69894-211MAY 69891-112MAY 69891-213MAY 69889-214MAY 69889-415MAY 65031-116MAY 54233-117MAY 65275-63