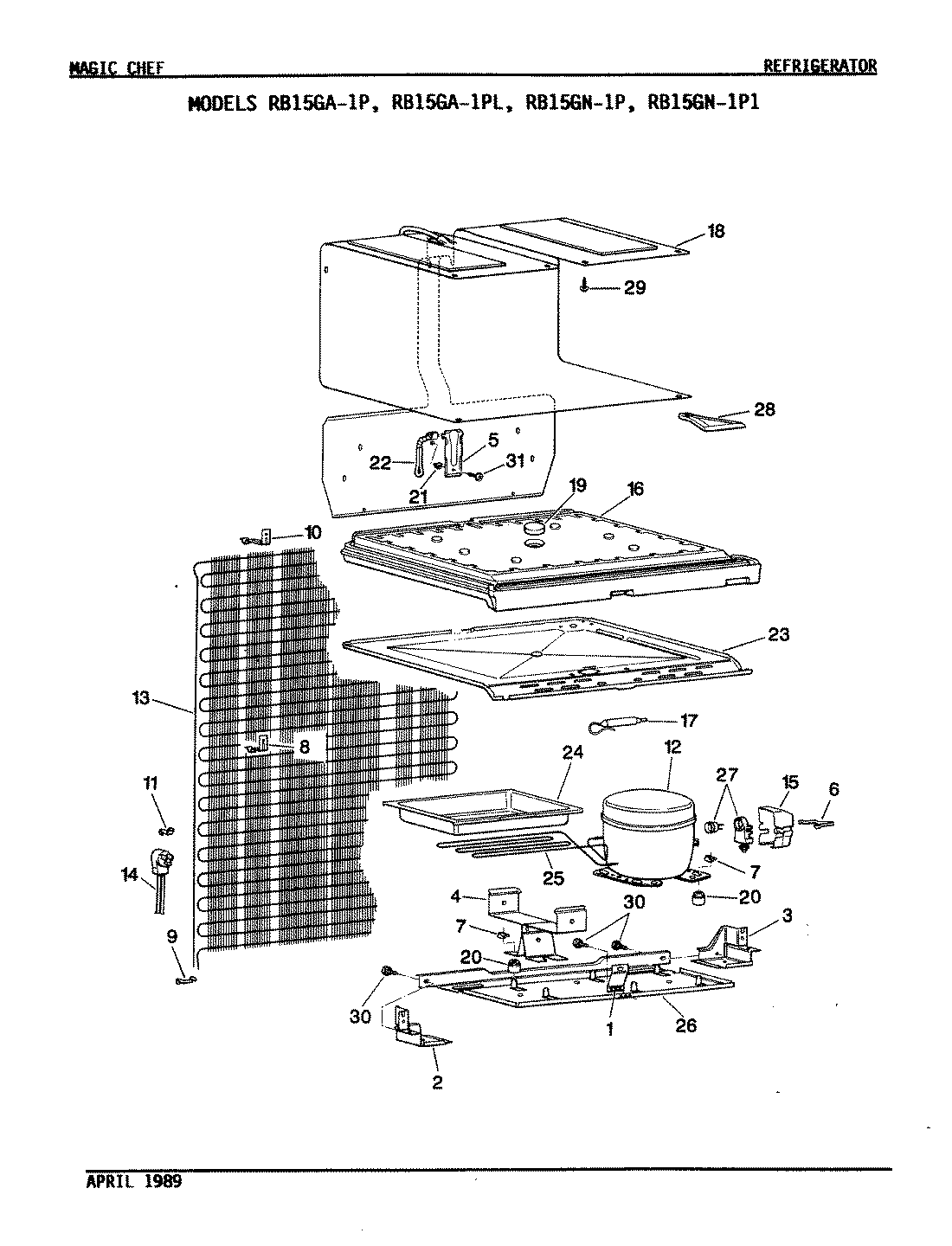
RB15GN-1PL 03 – UNIT COMPARTMENT & SYSTEMadmin2025-04-26T09:06:16+00:00RB15GN-1PL 03 – UNIT COMPARTMENT & SYSTEM ProductsPositionProduct1MAY 7010-00232MAY 7020-00263MAY 7010-00254MAY 7010-00225MAY 7020-00127MAY 7020-00098MAY 7020-00069MAY 7020-001810MAY 7020-000512MAY 7010-001313MAY 7010-001814MAY 7010-000116MAY 7010-004417MAY 7010-001118MAY 7010-001719MAY 7010-001520MAY 7020-001621MAY 7050-004822MAY 7010-004323MAY 7010-004524MAY 7010-002925MAY 7010-004826MAY 7010-002427MAY 7010-004728MAY 7010-000529MAY 7050-006530MAY 7020-001131MAY 7020-0014