RB170PXBQ0 06 – COMPONENT SHELF AND LATCHadmin2025-04-26T11:31:16+00:00RB170PXBQ0 06 – COMPONENT SHELF AND LATCH
Products
| Position | Product |
|---|
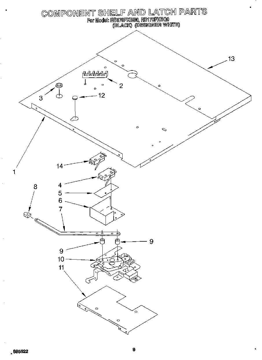
| 1 | Shelf, Component |
| 2 | WP8203546 Whirlpool Terminal Block |
| 2 | Screw (10-12 x .875) |
| 3 | Bushing |
| 4 | Safety Switch |
| 5 | Insulator, Switch |
| 6 | Guard, Latch |
| 7 | Handle, Latch |
| 8 | Knob, Latch Handle |
| 8 | Screw |
| 9 | Screw (2) |
| 9 | Spacer, Latch Handle (2) |
| 10 | Latch, Mechanism |
| 11 | Screw, 8-18 X 3/4 (4) |
| 11 | Plate, Mounting |
| 12 | Plug, Button |
| 13 | Screw |
| 13 | WP3177991 Whirlpool Screw |
| 13 | Extension, Shelf |
| 14 | Screw (2) |
| 14 | Switch, Latch |