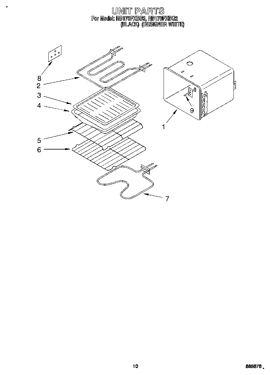
RB170PXBQ2 07 – UNITadmin2025-04-26T11:37:04+00:00RB170PXBQ2 07 – UNIT ProductsPositionProduct1Liner, Oven2WP660579 Whirlpool Range Wall Oven Broil Element, 3000W, 240V34396923 Whirlpool Broil Pan Set Gray Porcelain5Rack, Offset6Rack, Oven7WP661416 Whirlpool Bake Element8Bracket, Element (2)9Screw (2)9Sensor, Heat