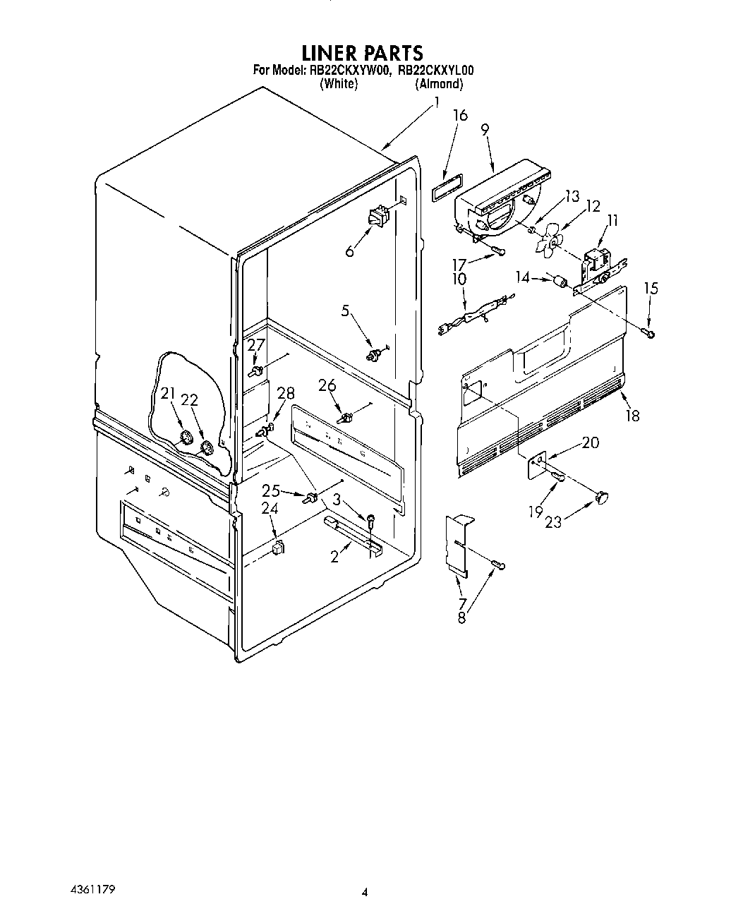
| 1 | Liner (Not A Serviceable Part) |
| 2 | Slide, Basket (R.S) |
| 2 | Slide, Basket (Left Side) |
| 3 | W10759522 Whirlpool Screw |
| 5 | W10854959 Whirlpool Refrigerator Shelf Stud |
| 6 | W11384469 Whirlpool Door Switch |
| 7 | Electrical Shield Extension |
| 8 | Screw, 8-32 x 3/8 |
| 9 | Scroll, Fan |
| 10 | Wiring Assembly, Fan Motor |
| 11 | Fan Motor |
| 12 | Blade, Fan |
| 13 | Ring, Compression |
| 14 | Fan Grommet (2) |
| 15 | Screw (2) |
| 16 | Gasket, Fan Scroll |
| 17 | WP489478 Whirlpool Refrigerator Screw |
| 18 | Cover, Evaporator |
| 19 | WP488729 Whirlpool Refrigerator Door Screw |
| 20 | WP2217784 Whirlpool Refrigerator Cover |
| 22 | WP941839 Whirlpool Refrigerator Button Plug |
| 23 | Hole Plug |
| 24 | W11457217 Whirlpool Refrigerator Rocker Switch Combination |
| 25 | Stud, Support |
| 26 | Stud, Front R.S. |
| 27 | 819091 Whirlpool Refrigerator Shelf Stud |