RB262PXAQ4 01 – INTERNAL, OPTIONALadmin2025-04-26T11:33:36+00:00RB262PXAQ4 01 – INTERNAL, OPTIONAL
Products
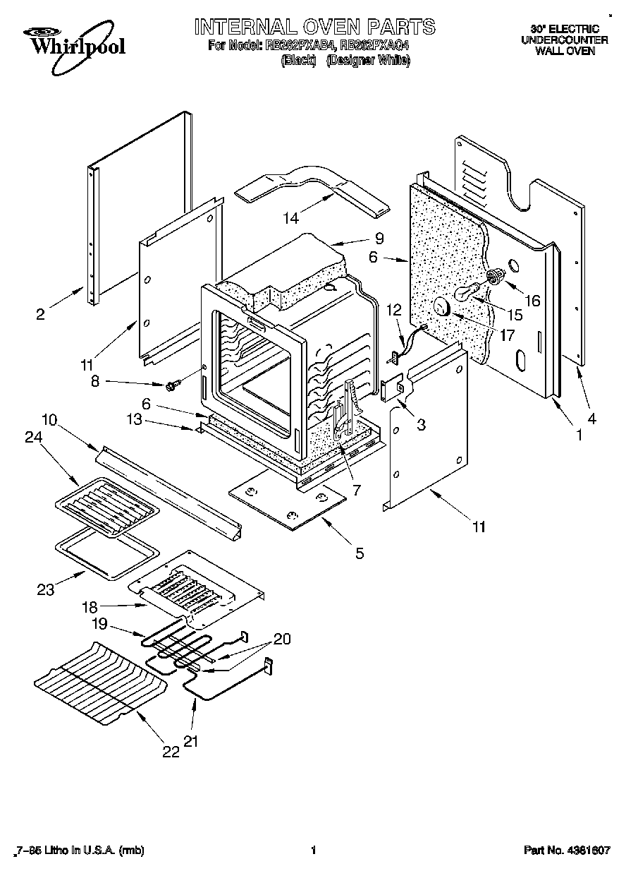
| Position | Product |
|---|
| 1 | Back, Main |
| 2 | Panel, Side (2) |
| 3 | Support, Oven (2) |
| 4 | Cover, Rear |
| 5 | Shield, Heat |
| 6 | WPW10208653 Whirlpool Insulation |
| 7 | Hinge, Door (2) |
| 8 | WP4159193 Whirlpool Screw |
| 9 | Insulation, Wrap |
| 10 | Shield, Lower Vent (White Model) |
| 10 | Shield, Lower Vent (Black Model) |
| 11 | Retainer, Insulation (2) |
| 12 | 12001656 Whirlpool Range Oven Temperature Sensor |
| 13 | Bottom, Main |
| 14 | Tube, Oven Vent |
| 15 | RANGE ONLY 40W 120V APPL BULB |
| 16 | W11594027 Whirlpool Range Oven Light Socket |
| 18 | Screw (6) |
| 18 | Baffle, Broil |
| 19 | Element, Broil |
| 20 | Support, Element |
| 21 | WP74003020 Whirlpool Range Bake Element |
| 22 | Rack, Oven (2) |
| 23 | 4396923 Whirlpool Broil Pan Set Gray Porcelain |
| 24 | FOIL, ALUMINUM OVEN (18`` X 25 ) |
| 24 | Wire, 25` Roll (Black 14 Ga.) |
| 24 | Wire, 25`` Roll (White 14 GA.) |
| 24 | W10355051 Whirlpool Cooktop Cleaner Affresh (10 Oz) |
| 24 | 242831 Whirlpool Oven Wire |
| 24 | Wire (14 Ga. 150 c Blue) |
| 24 | Wire (14 Ga. 150 c Brown) |
| 24 | Wire (14 Ga. 150 c Green) |
| 24 | Wire (14 Ga. 150 c Orange) |
| 24 | Wire (14 Ga. 150 c Yellow) |
| 24 | Wire (12 Ga. 150 c Black) |
| 24 | 18 Ga. 80~c Rating (Red) |
| 24 | Wire (14 Ga. 200 c Brown) |
| 24 | 1 |
| 24 | 8212471 Whirlpool Oven Paint |
| 24 | Grease |