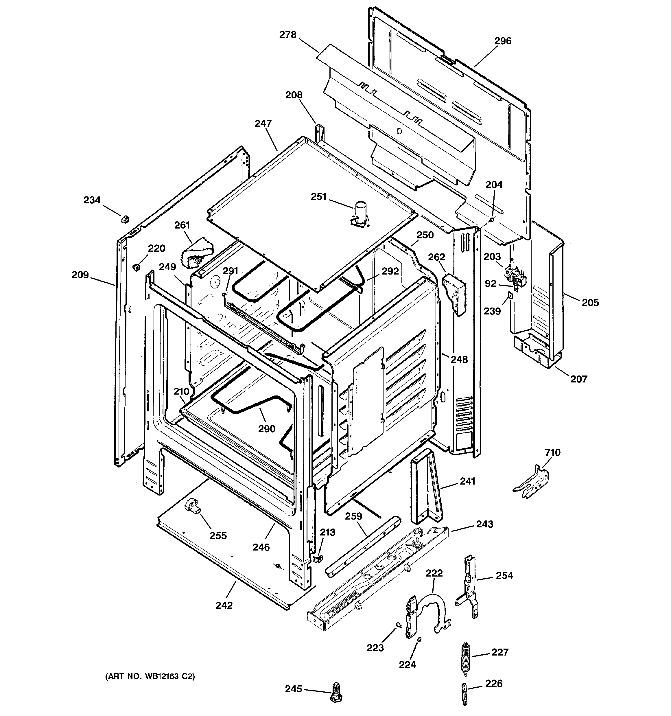
RB525BH3CT BODY PARTS