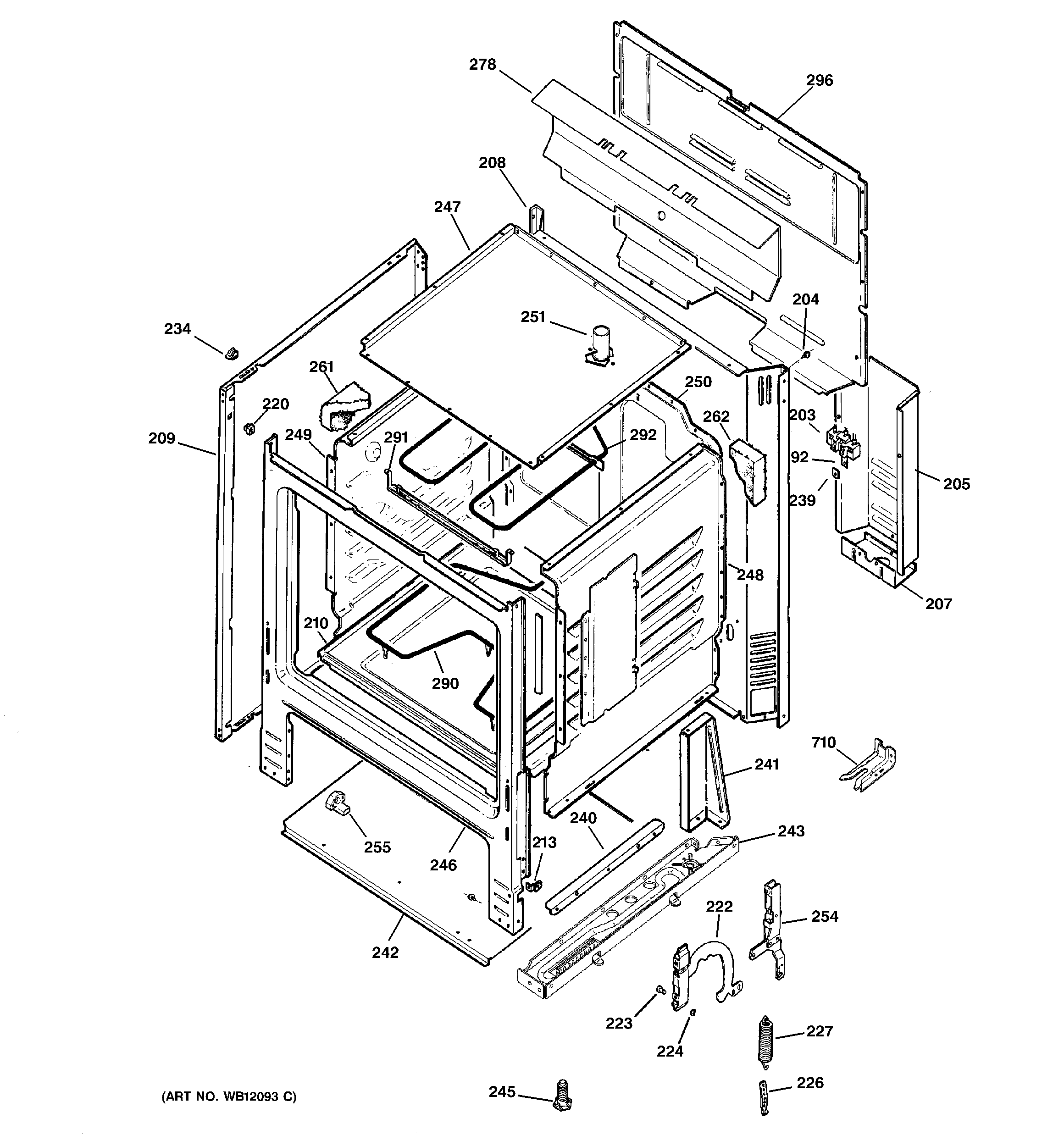
RB526C3CC BODY PARTS