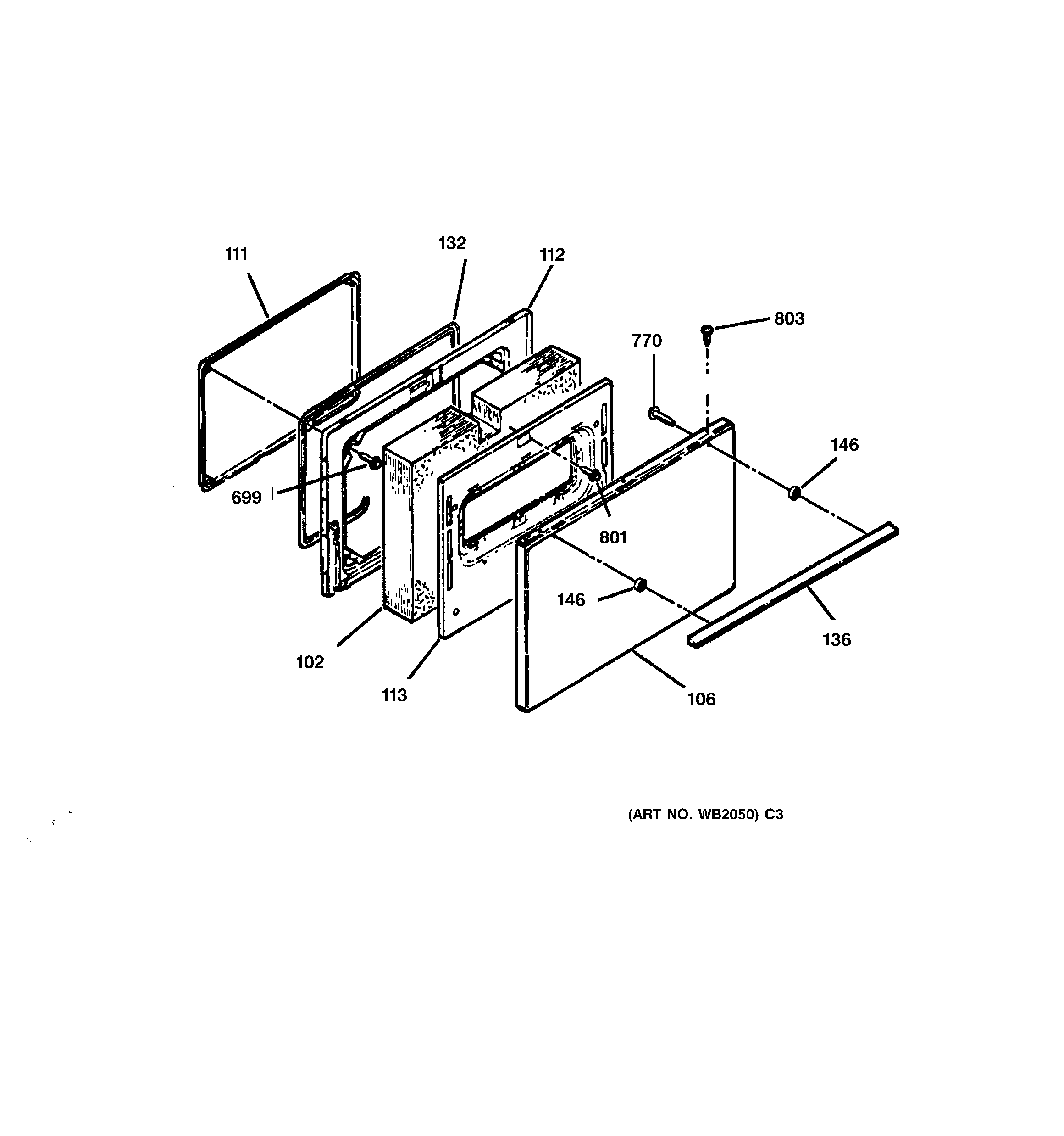
RB754Y2AD DOOR