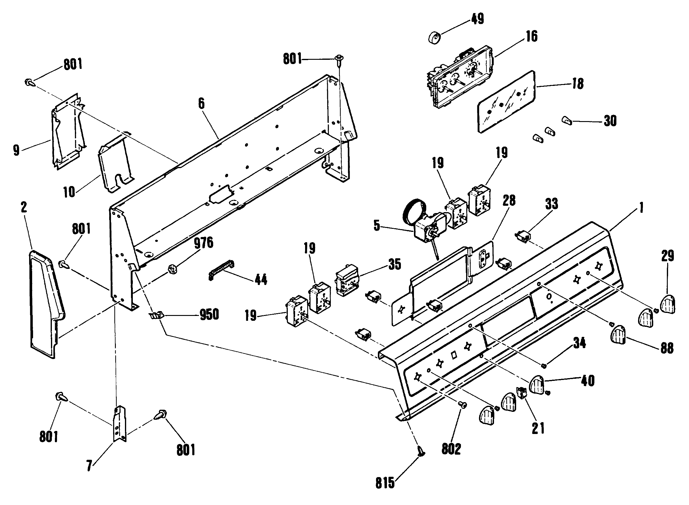
RB755GN2 0