RB755GT1WH 3
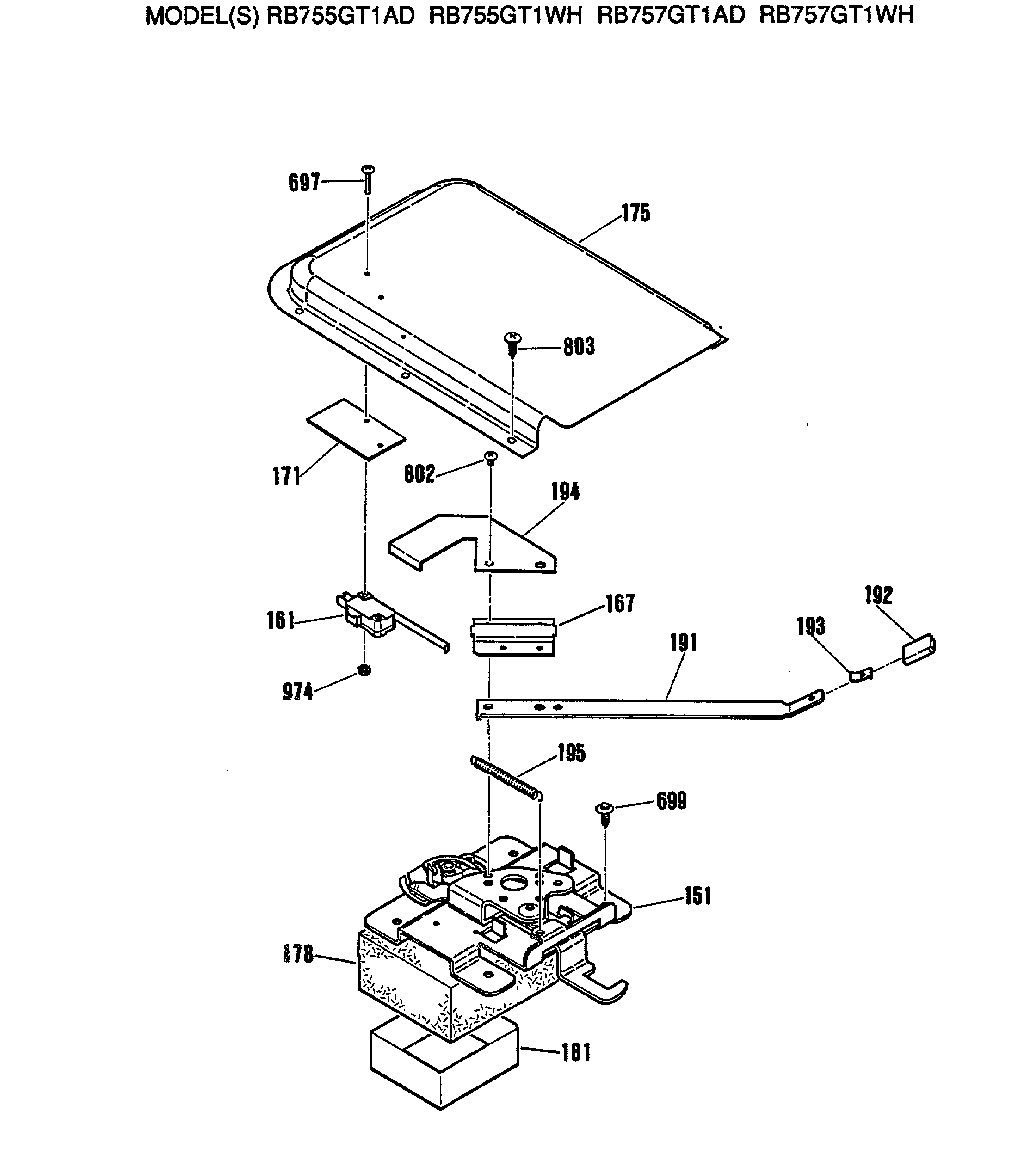
Products
| Position | Product |
|---|---|
| 151 | GEN WB14K5011 |
| 161 | GEN WB24K5092 |
| 167 | LATCH HANDLE RETAINER |
| 171 | GEN WB35K5101 |
| 175 | LOCK COVER ASM |
| 178 | LOCK BOX INSULATION |
| 181 | GEN WB02K5097 |
| 191 | LATCH HANDLE |
| 192 | GEN WB03K5154 |
| 193 | KNOB CLIP |
| 194 | LEVER SWITCH |
| 195 | LOCK SPRING |
| 697 | GEN WB01X1170 |
| 699 | WB1M1 GE Oven Screw |
| 802 | GEN WB01X1265 |
| 802 | GEN WB01K5123 |
| 803 | WB1X1149 GE Oven Screw |
| 803 | SCREW |
| 974 | GEN WB01X1264 |