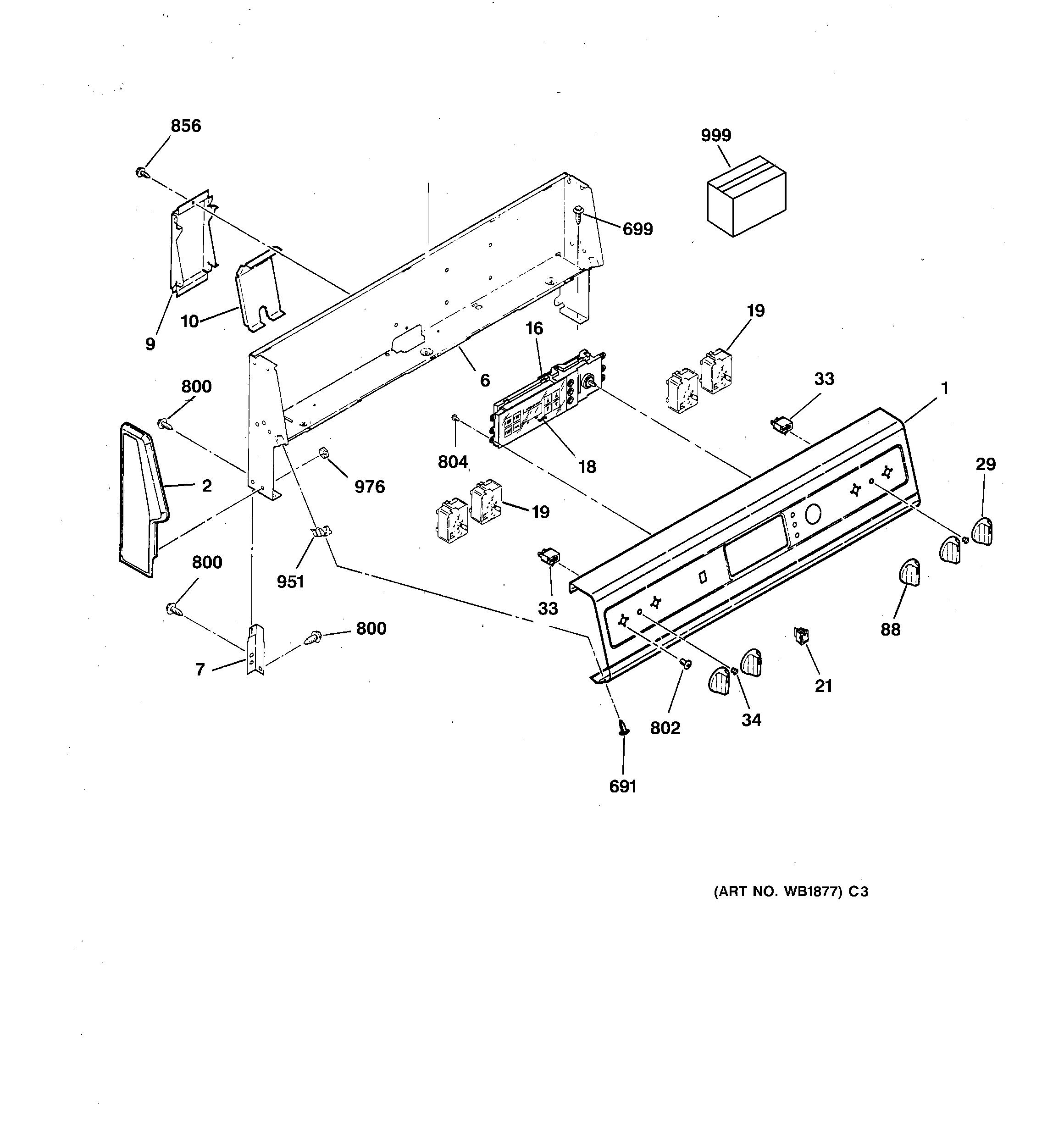
RB756GT4WW CONTROL PANEL