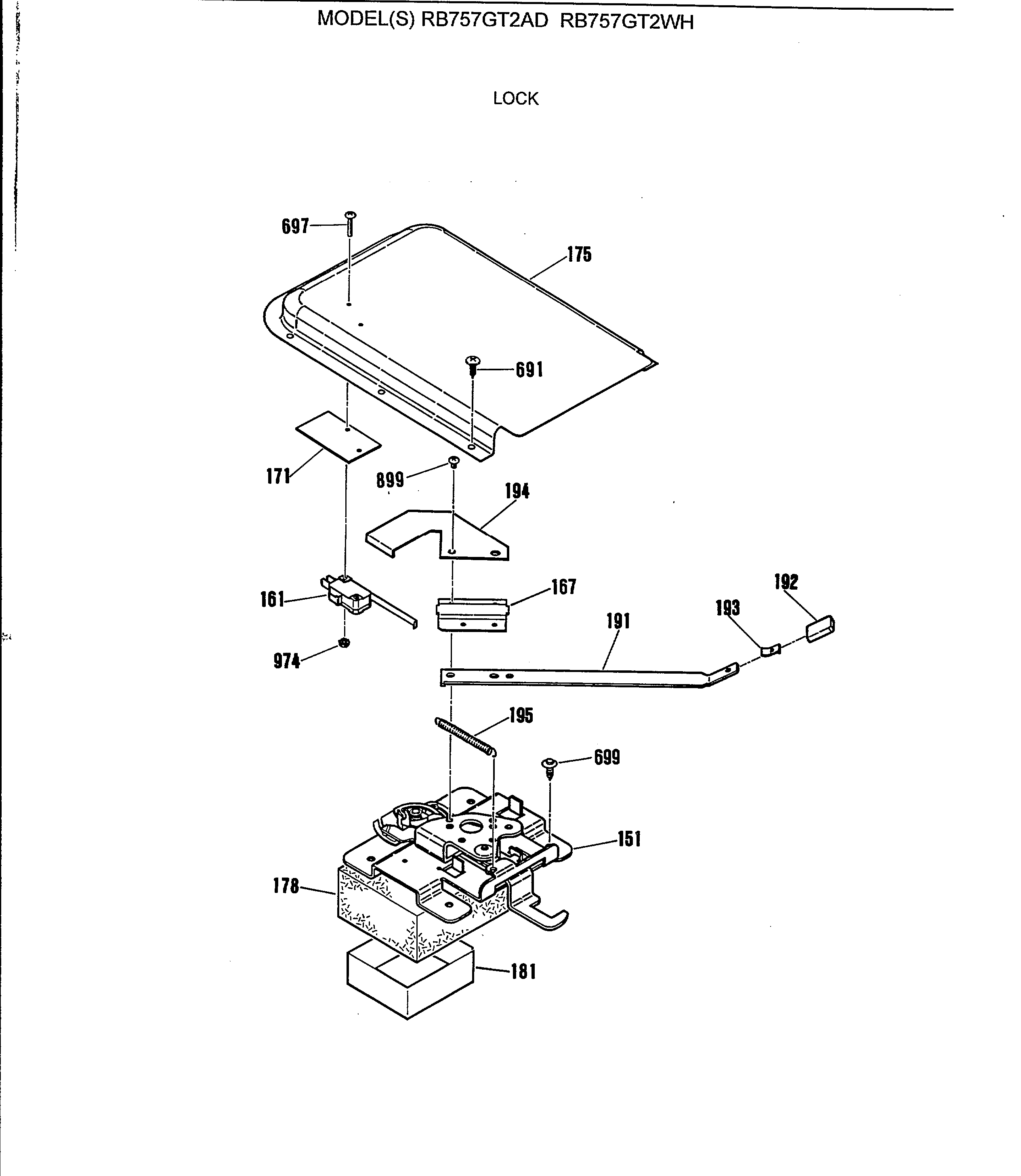
RB757GT2AD LOCK