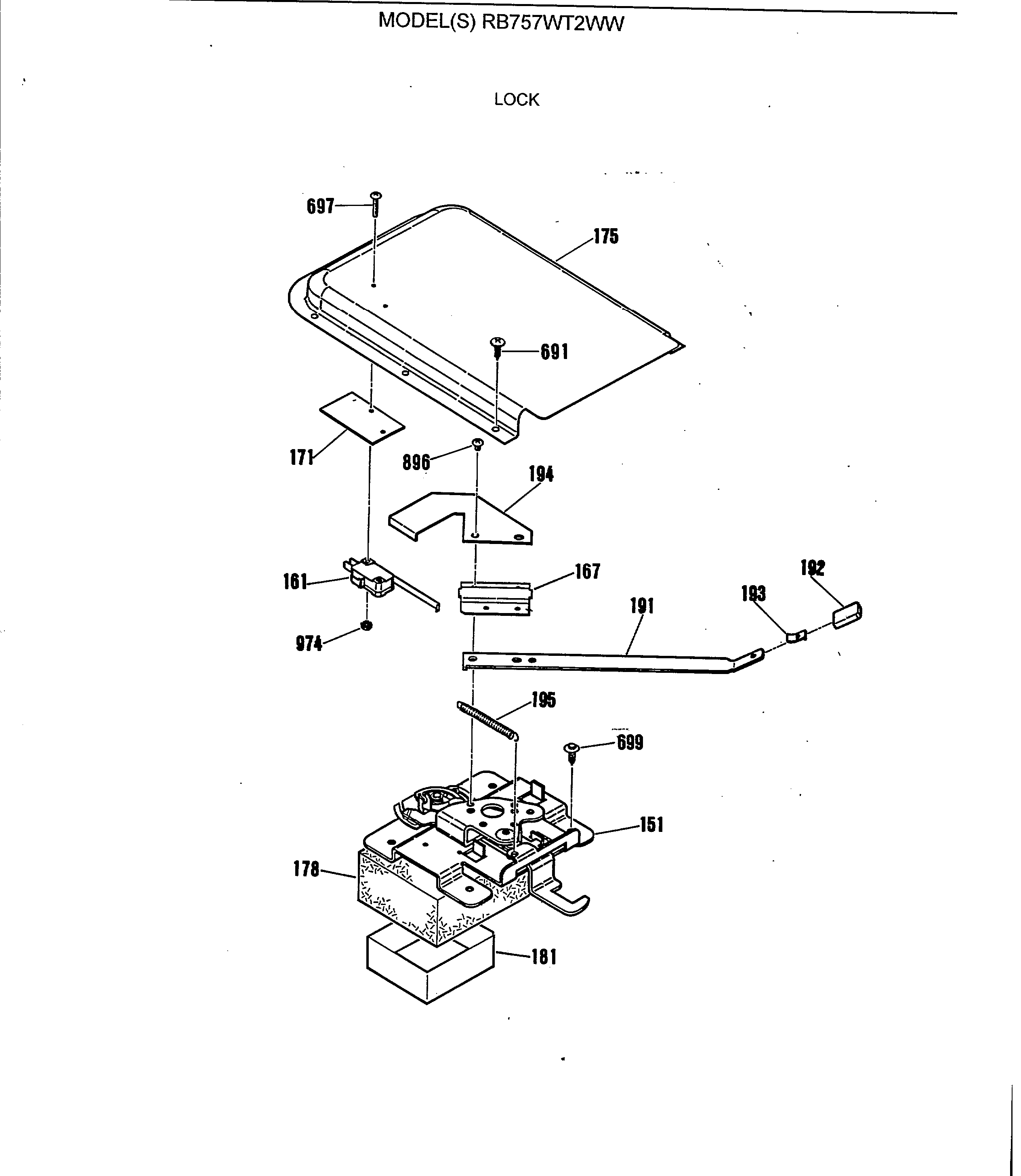
RB757WT2WW LOCK