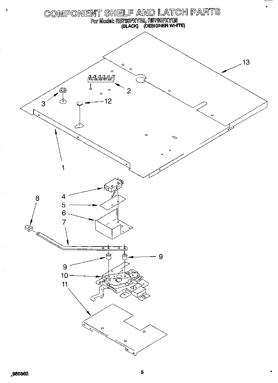
RB760PXYB5 05 – COMPONENT SHELF AND LATCH