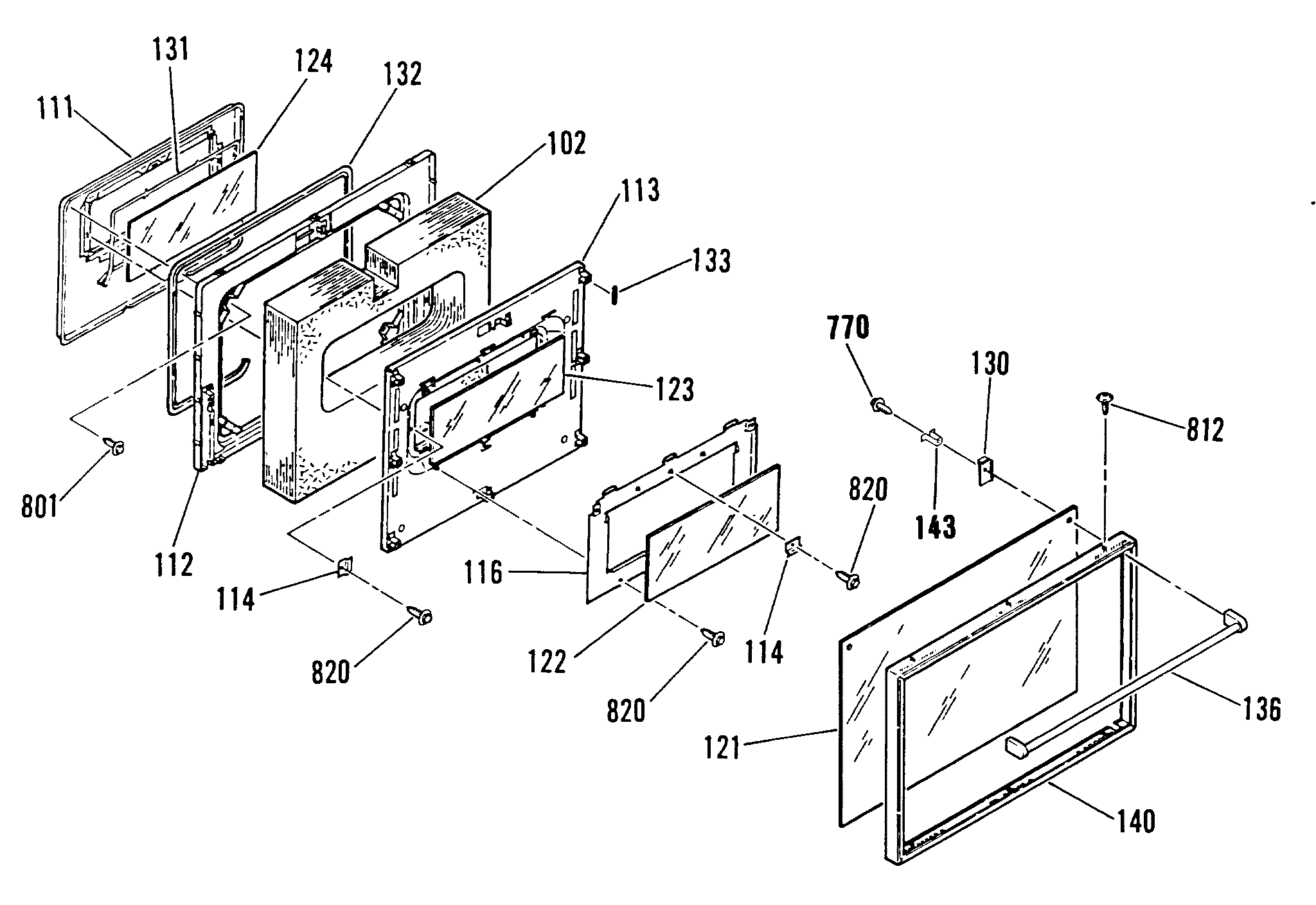
RB767GN2 4