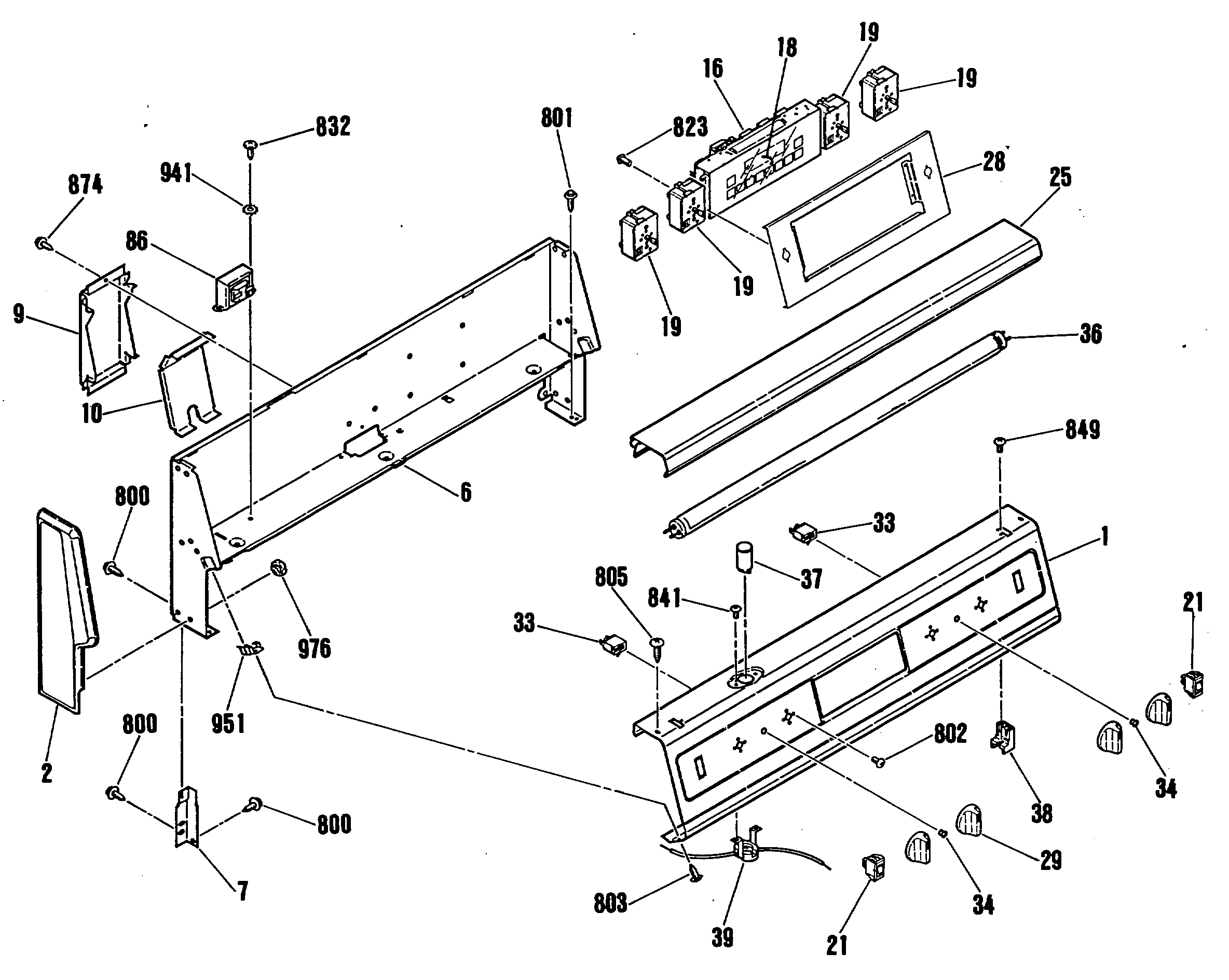
| 1 | UNKNOWN |
| 2 | UNKNOWN |
| 2 | UNKNOWN |
| 6 | GEN WB37M0005 |
| 7 | BACKGUARD SUPPORT-RT |
| 7 | BACKGUARD SUPPORT LT |
| 9 | GEN WB02X9415 |
| 10 | COVER RACEWAY |
| 16 | GEN WB27K5074 |
| 18 | GEN WB27K5075 |
| 19 | WB23M24 GE Stove Range Infinite Switch 1500W Cooktop Surface Burner |
| 19 | WB23K5027 GE Stove Range Oven Infinite Control Burner Switch |
| 21 | SWITCH-OVEN LIGHT |
| 25 | UNKNOWN |
| 28 | UNKNOWN |
| 29 | GEN WB03K5126 |
| 33 | GEN WB25M0008 |
| 34 | GEN WB25M0009 |
| 36 | FLUOR LAMP |
| 37 | GEN WB02X9390 |
| 38 | GEN WB08X0291 |
| 39 | GEN WB08X0290 |
| 86 | GEN WB20X0116 |
| 201 | GEN WB63K5109 |
| 212 | GEN WB02K5093 |
| 459 | GEN WB02X9036 |
| 614 | GEN WB02X9737 |
| 796 | WB1K5116 GE Oven Screw |
| 800 | WB1M1 GE Oven Screw |
| 802 | GEN WB01K5123 |
| 803 | WB1X1149 GE Oven Screw |
| 805 | GEN WB01X1113 |
| 808 | WB1X1116 GE Oven Screw |
| 815 | SCREW |
| 823 | WB1X1425 GE Oven SCW 8ABX.250 |
| 832 | WB1X1118 GE Oven Screw 6-32T |
| 849 | GEN WB01X1252 |
| 857 | UNKNOWN |
| 874 | UNKNOWN |
| 941 | GEN WB01X1399 |
| 951 | BACKGUARD CLIP |
| 976 | GEN WB01X1251 |
| 999 | SENSOR WIRE HARNESS |
| 999 | GEN WB18M0071 |
| 999 | LOCK SWITCH HARNESS |
| 999 | GEN WB18K5229 |
| 999 | GEN 39-4650 |
| 999 | GEN 31-10059 |
| 999 | LIGHT SWITCH W HARNESS |
| 999 | GEN 31-13010 |