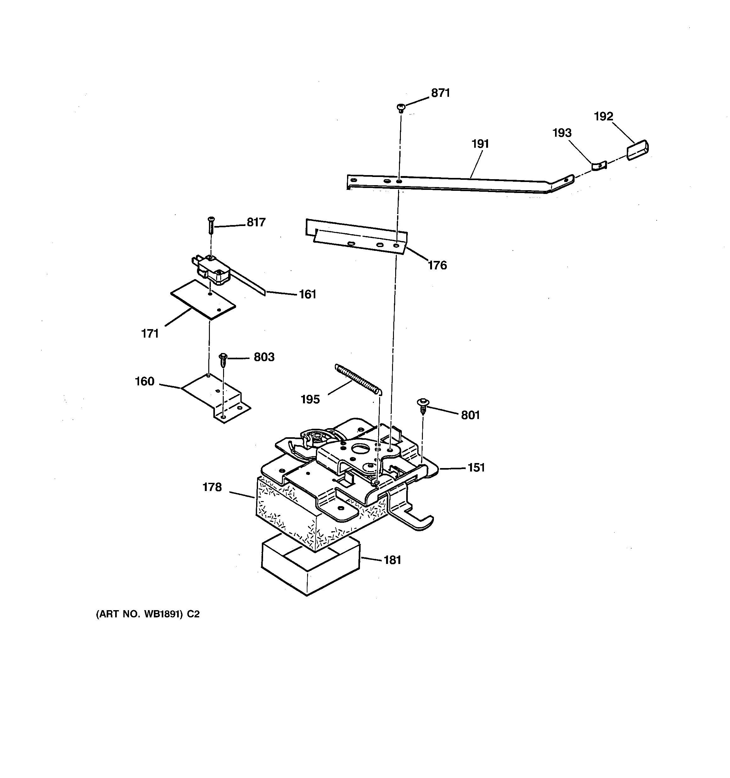
RB787WT1WW LOCK