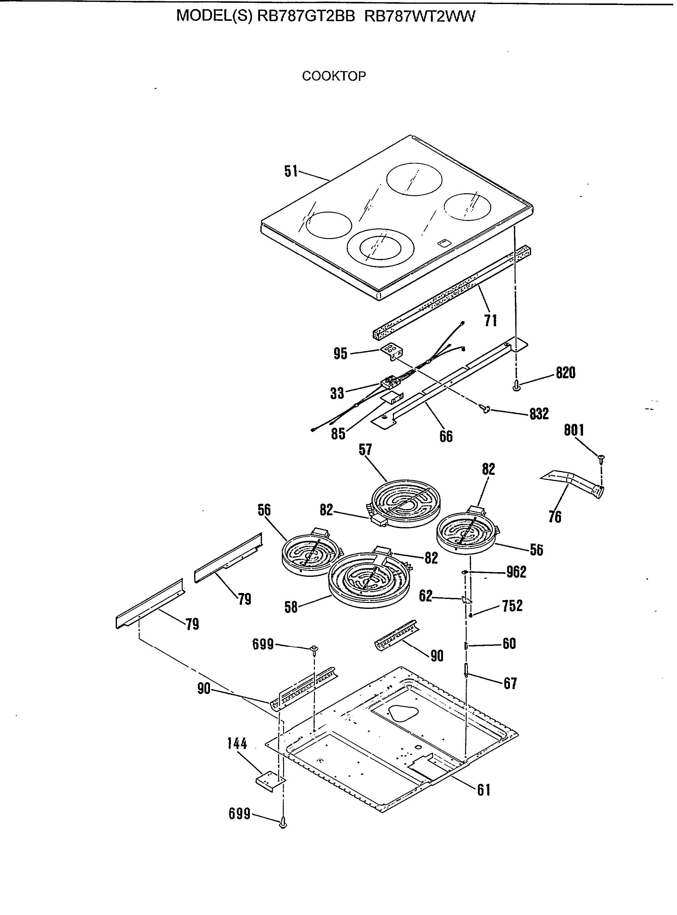
| 21 | GEN WB24K5036 |
| 33 | GEN WB25K5020 |
| 33 | GEN WB25M0008 |
| 51 | GEN WB62K5143 |
| 56 | GEN WB23K5039 |
| 57 | GEN WB23K5040 |
| 60 | GEN WB09K5014 |
| 61 | UNKNOWN |
| 62 | WB2K5318 GE Oven Radiant Heater Bracket |
| 66 | GEN WB34K5199 |
| 67 | WB2X9502 GE Oven Stud |
| 71 | GEN WB35K5111 |
| 71 | GEN WB35K5052 |
| 76 | GEN WB38K5050 |
| 79 | BURN BOX BTM BAFFLE-RT |
| 79 | BURN BOX BTM BAFFLE-LT |
| 82 | GEN WB24K5070 |
| 82 | GEN WB24K5071 |
| 85 | GEN WB35K5098 |
| 90 | GLASS SUPPORT-LEFT |
| 90 | GLASS SUPPORT-RIGHT |
| 95 | INDICATOR LIGHT BRACKET |
| 144 | GEN WB02K5316 |
| 691 | WB1K5169 GE Trim Screw 10-16 X 3/8" White |
| 699 | WB1M1 GE Oven Screw |
| 752 | GEN WB00X6542 |
| 820 | WB1X1424D GE Oven Screw Package |
| 832 | WB1X1118 GE Oven Screw 6-32T |