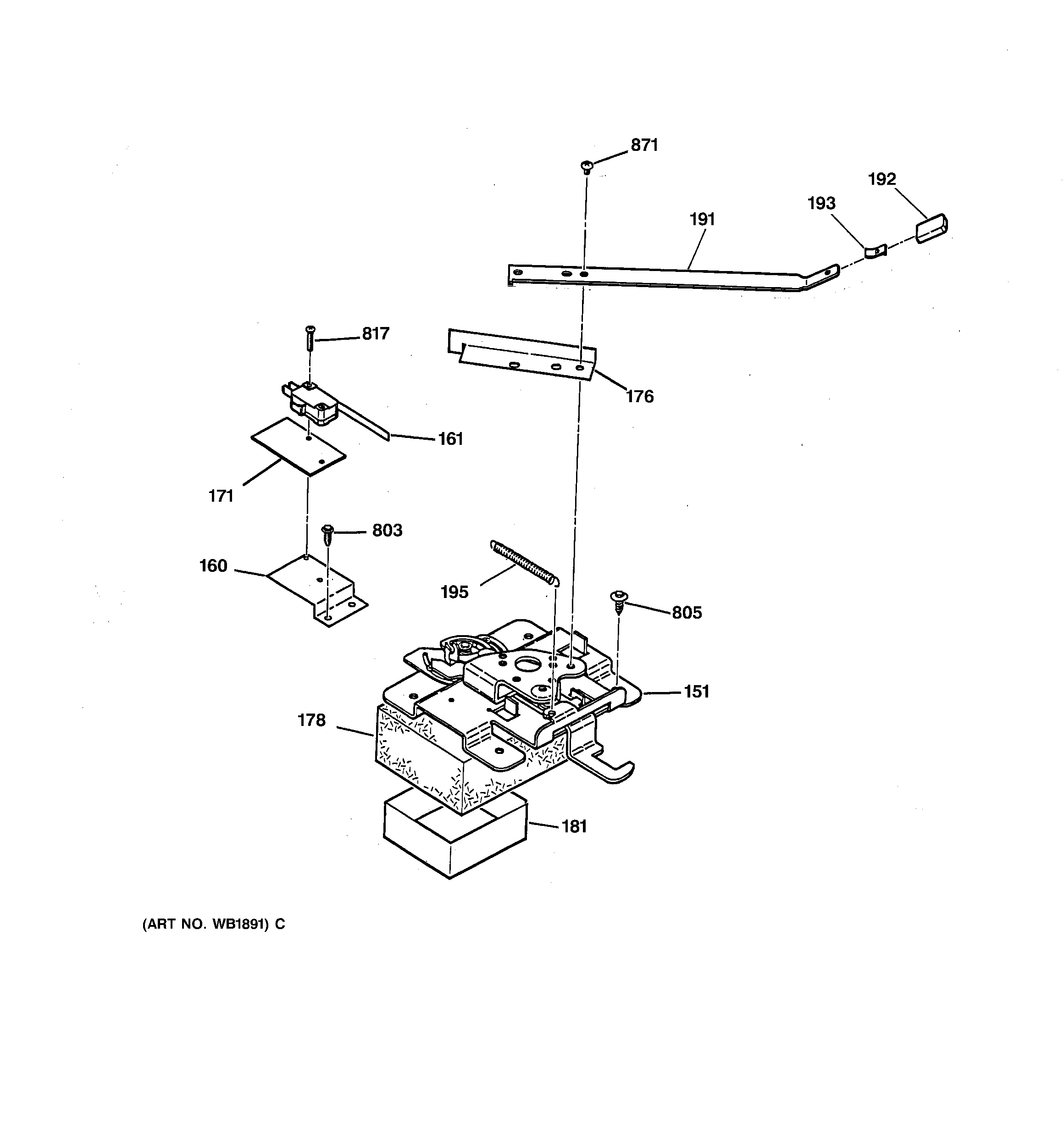
RB787WT3WW LOCK