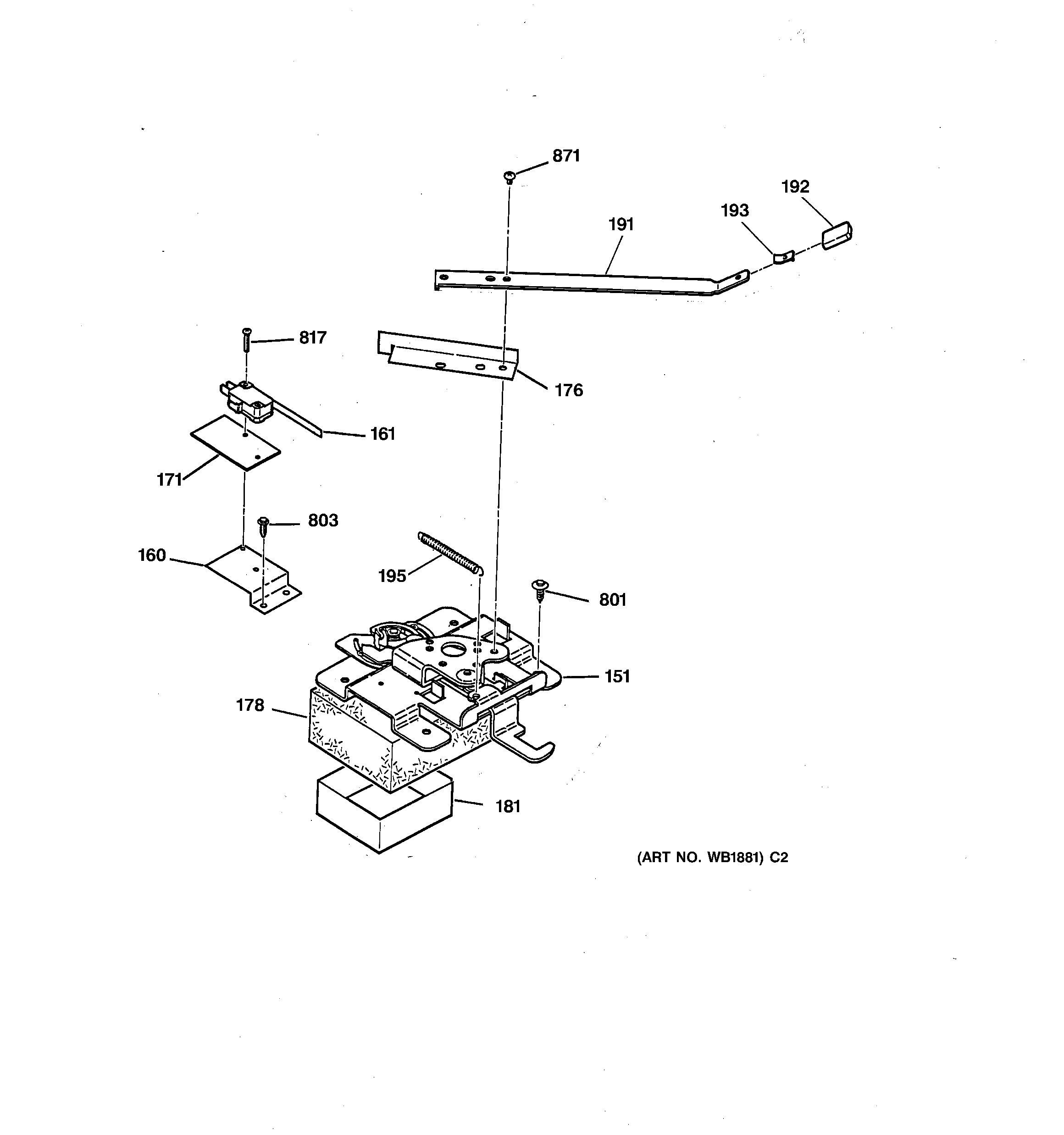
RB787WY1WW LOCK