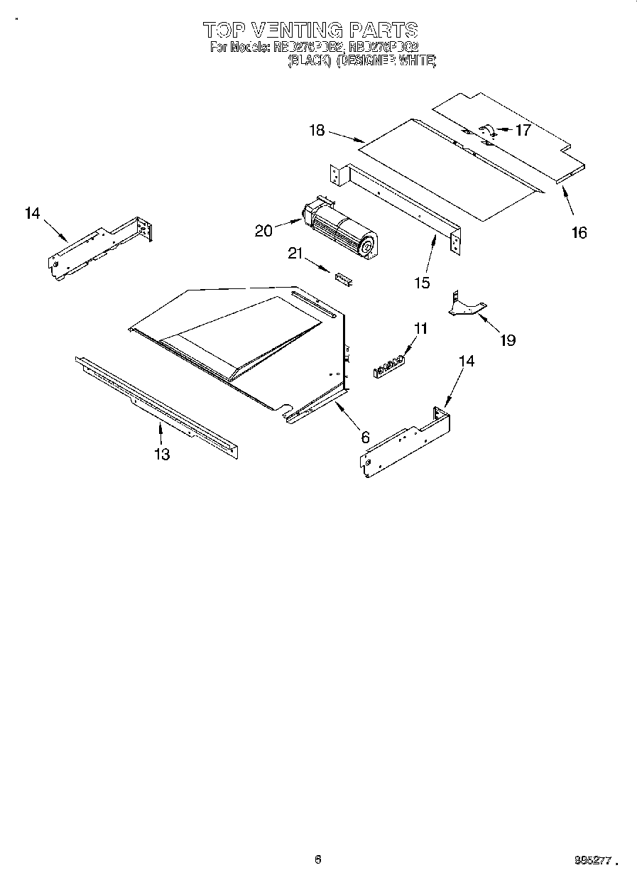
RBD276PDB2 05 – TOP VENTING, OPTIONAL