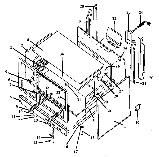
RBP39AA05 03 – CABINET ASSY