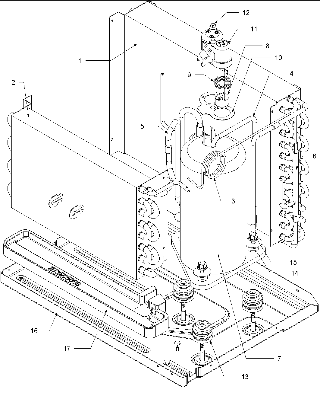
RC07087M1DR 01 – Compressor Assy