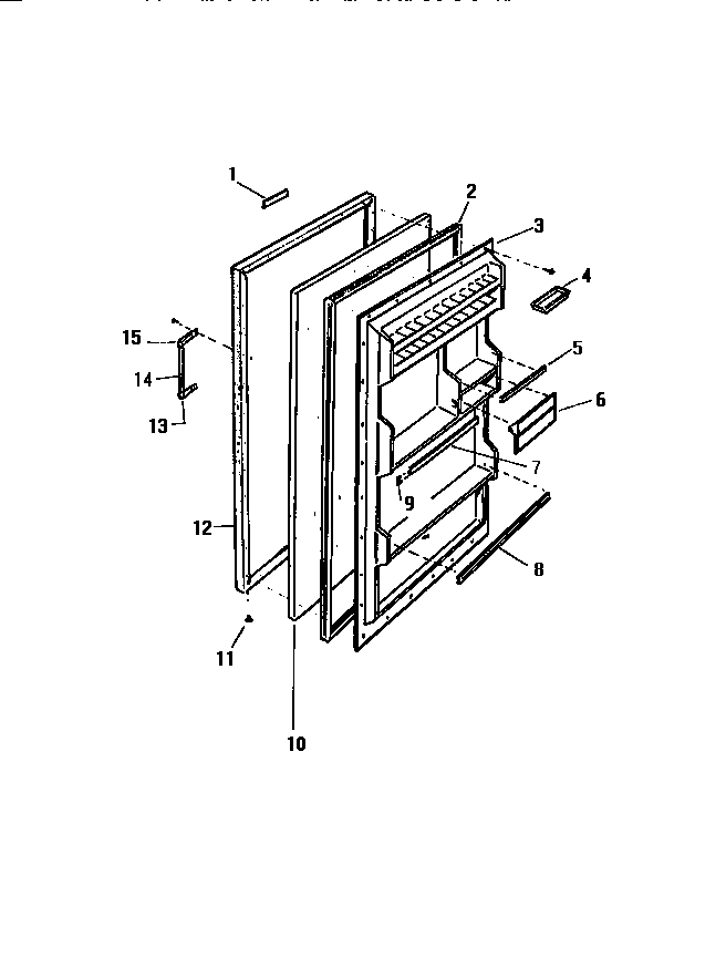
RC101GLD6 02 – DOOR