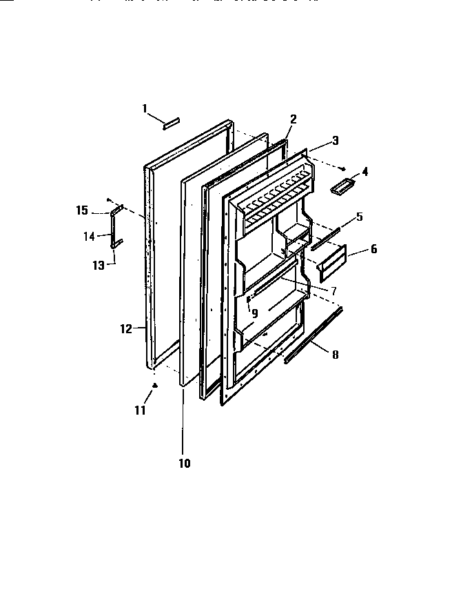
RC101GLD7 02 – DOOR