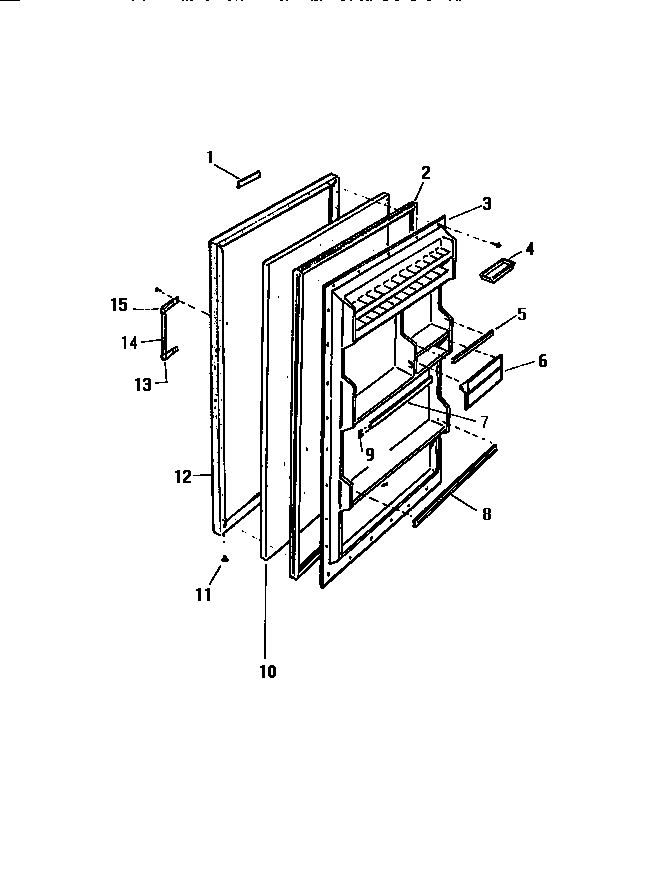
RC101GLW1 02 – DOOR