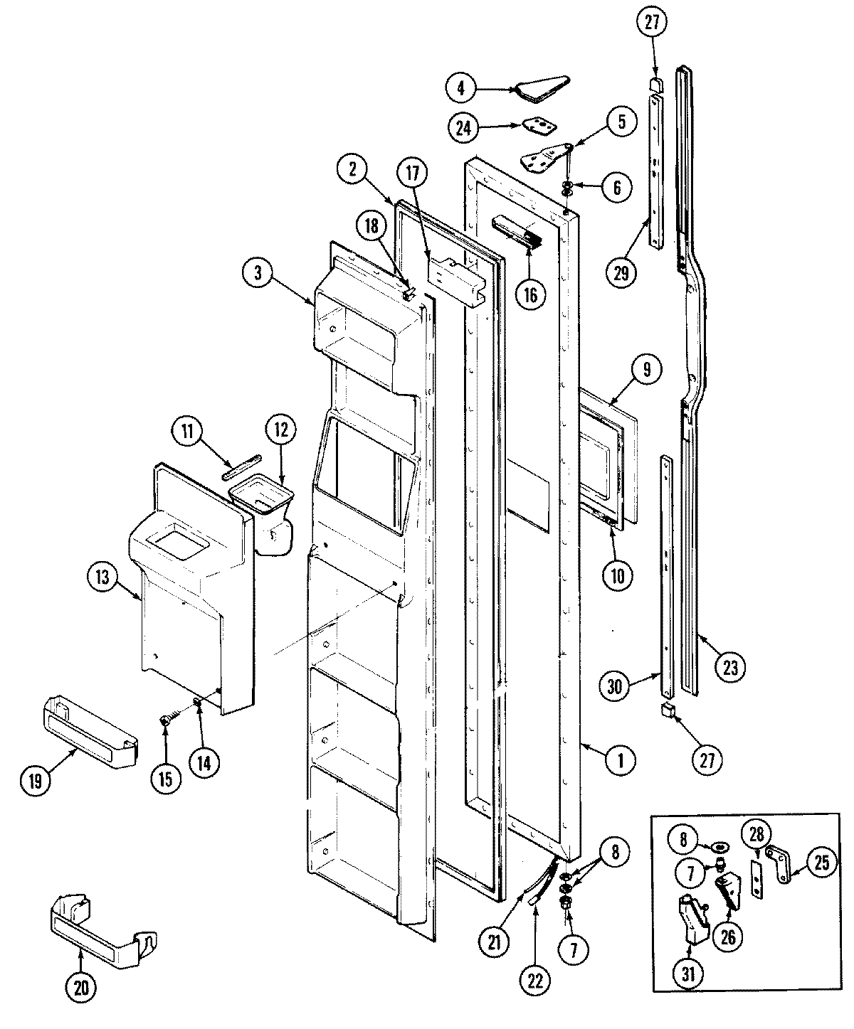
RC203TDM 02 – FREEZER DOORadmin2025-04-26T09:31:08+00:00RC203TDM 02 – FREEZER DOOR ProductsPositionProduct1MAY 72346-28-AM2MAY 70024-13MAY 65275-53MAY 69253-14MAY 70121-35MAY 53709-226WP52185-1 Whirlpool Refrigerator Washer7MAY 69844-1867483-3 Whirlpool Refrigerator Door Spacer Washer9MAY 68594-610MAY 95121-111MAY 52077-2612MAY 69220-113MAY 68768-113MAY 69223-114MAY 68786-215MAY 400021-10316MAY 69258-116WP489478 Whirlpool Refrigerator Screw17MAY 69263-118MAY 69261-119MAY 69873-720MAY 69870-721MAY 67187-122MAY 69865-923MAY 1200004324MAY 65031-125MAY 67874-125MAY 65275-5926MAY 69480-126MAY 65275-5126MAY 69516-327MAY 69590-128MAY 69510-129MAY 69586-330MAY 69586-431MAY 65275-4731MAY 68978-3