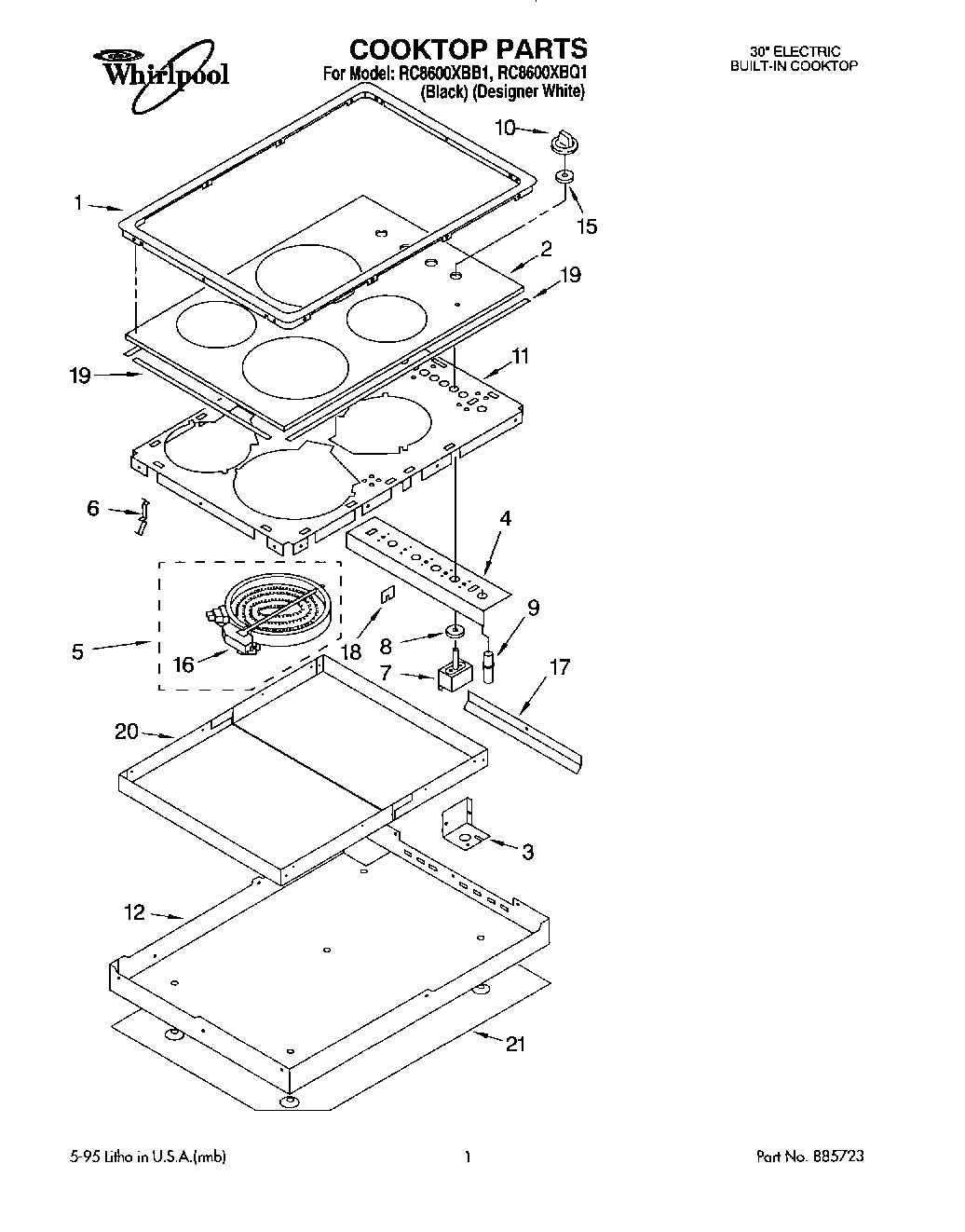
| 1 | Trim Ring, Cooktop (White) |
| 1 | Trim Ring, Cooktop (Black) |
| 2 | Cooktop, Glass (Designer White) |
| 2 | Cooktop, Glass (Black) |
| 3 | WPL 3189273 |
| 4 | Bracket, Switch Mounting |
| 5 | Element, Surface (2100W Right Rear) |
| 5 | WP8185663 Whirlpool Surface Element |
| 5 | Element, Surface (1700W Right Front) |
| 5 | Element, Surface (1400W Left Rear) |
| 6 | WP486754 Whirlpool Compactor Screw |
| 6 | Spring Locator (8) |
| 7 | Switch, Infinite (Use W/2100W Right Rear Burner) |
| 7 | Switch, Infinite (Use W/1400W Right Front Burner) |
| 8 | WP486579 Whirlpool Air Conditioner Screw |
| 8 | 3183956 Whirlpool Oven Seal Switch |
| 9 | Light, Indicator |
| 10 | Knob, Control (4) |
| 10 | Knob, Control |
| 11 | Plate, Backer |
| 12 | Box, Burner |
| 15 | Seal, Inifinite Switch |
| 16 | Switch, Limiter (Use W/4454439 Element) |
| 16 | Switch, Limit (Use W/3184954 Element) |
| 16 | Switch, Limiter (Use W/4454440 Element) |
| 16 | Limiter, Temperature (Use W/3184959 Element) |
| 17 | Plate, Lower |
| 18 | Grommet |
| 19 | Seal, Silicone (Sides (2)) |
| 19 | Seal, Silicone (Front & Back (2)) |
| 20 | Shield, Heat |
| 21 | Screw |
| 21 | Shield, Heat |