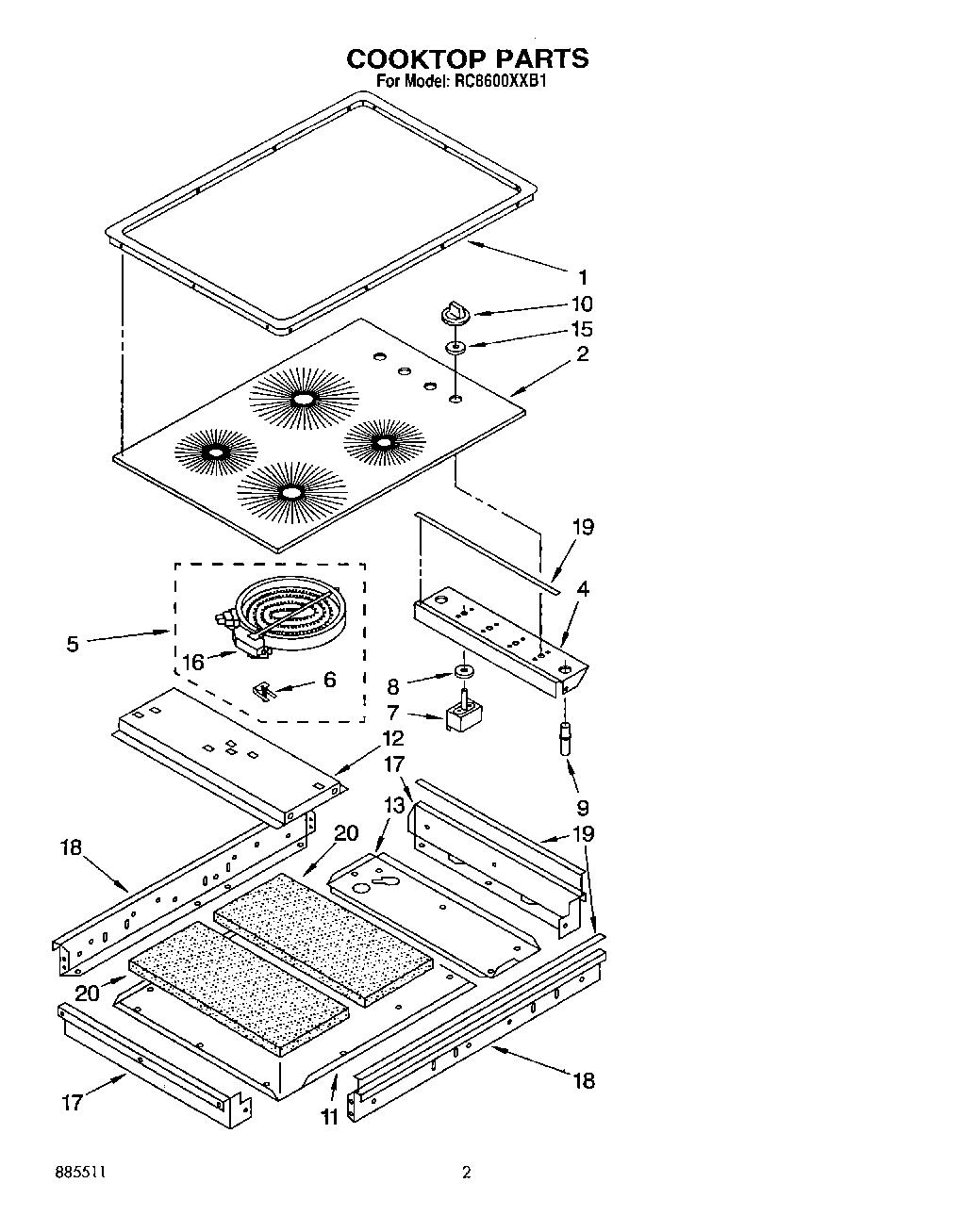
| 1 | Trim Ring, Cooktop (Black) |
| 1 | Trim Ring, Cooktop (White) |
| 1 | Vent, Lower Trim (Screw (2)) |
| 2 | Cooktop, Glass (White) |
| 2 | Cooktop, Glass (Black) |
| 4 | Bracket, Switch Mounting |
| 5 | WP8185663 Whirlpool Surface Element |
| 5 | Element, Surface (1400W Left Rear) |
| 5 | Element, Surface (2100W Right Rear) |
| 5 | Element, Surface (1700W Right Front) |
| 6 | Spring, Locator |
| 6 | WP486754 Whirlpool Compactor Screw |
| 7 | Switch, Infinite (Use W/1400W Left Rear Burner) |
| 7 | Switch, Infinite (Use W/2400W Left Front Burner) |
| 7 | WP486579 Whirlpool Air Conditioner Screw |
| 7 | Switch, Inifinite (Front Burner (Green Shaft)) |
| 8 | Seal, Switch Shaft (2) |
| 9 | Light, Indicator |
| 10 | Knob, Control (4) |
| 10 | Knob, Control |
| 11 | Cover, Bottom |
| 12 | Support, Element |
| 13 | Cover, Service |
| 13 | WPL 312318 |
| 13 | WP488729 Whirlpool Refrigerator Door Screw |
| 15 | Seal, Inifinite Switch |
| 16 | Limiter, Temp. (6`` L.R.) |
| 16 | Limiter Temp. (7`` - RF) |
| 16 | Limiter, Temperature (Use W/3183649 Element) |
| 16 | Limiter, Temperature (Use W/3183648 Element) |
| 17 | Rail, Side (Left Hand) |
| 17 | Rail, Side (Right Hand) |
| 18 | WPL 3183380 |
| 19 | Seal, Sili |
| 19 | WPL 3181645 |
| 20 | Insulation, Ceramic |