| WA906B Whirlpool Cooktop Glass Scraper |
| Wire (14 Ga. 150 c Yellow) |
| Wire (12 Ga. 150 c Black) |
| 18 Ga. 80~c Rating (Red) |
| Wire (14 Ga. 200 c Brown) |
| 1 |
| WPL LIT3189791 |
| WPL LIT3189548 |
| Hardware Asm. |
| WPL LIT3190333 |
| WPL 3179589 |
| Wire (14 Ga. 150 c Orange) |
| Wire (14 Ga. 150 c Green) |
| Wire, 25` Roll (Red 14 Ga.) |
| Wire, 25`` Roll (White 14 GA.) |
| W10355051 Whirlpool Cooktop Cleaner Affresh (10 Oz) |
| Wire, 25` Roll (Black 14 Ga.) |
| 242831 Whirlpool Oven Wire |
| Wire (14 Ga. 150 c Brown) |
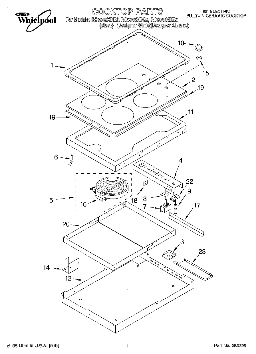
| 1 | Trim Ring, Cooktop (Designer White) |
| 1 | Trim Ring, Cooktop (Black) |
| 1 | Trim Ring, Cooktop (Designer Almond) |
| 2 | Cooktop, Glass (Designer Almond) |
| 2 | Cooktop, Glass (Designer White) |
| 2 | Cooktop, Glass (Black) |
| 3 | Shield, Heat (Exterior) |
| 4 | Bracket, Switch Mounting |
| 5 | Element, Surface (RR 2000W/1000W (Dual)) |
| 5 | Element, Surface (7`` R.F. 1700W) |
| 5 | W10823694 Whirlpool Surface Element |
| 5 | Element, Surface (6`` L.R. 1400W) |
| 6 | WP486754 Whirlpool Compactor Screw |
| 6 | Spring, Locator (8) |
| 7 | Switch, Infinite (Use W/1700W Right Front & 2100W Right Rear Burner) |
| 7 | WP486579 Whirlpool Air Conditioner Screw |
| 7 | Switch, Infinite (Use W/1400W Left Rear Burner) |
| 7 | WP8203529 Whirlpool Infinite Switch |
| 8 | 3183956 Whirlpool Oven Seal Switch |
| 9 | Light, Indicator |
| 10 | Knob, Control |
| 10 | Knob, Control (4) |
| 10 | Knob, Control (4) (Designer Almond) |
| 11 | Backer, Plate |
| 12 | Cover, Bottom |
| 14 | Bracket, Wiring |
| 15 | Seal, Inifinite Switch |
| 16 | Limiter, Temp (1700W - RF) |
| 16 | Limiter, Temp (2400W - LF) |
| 16 | Limiter, Temp. (1400 W - LR) |
| 17 | Screw, |
| 17 | Plate, Louver |
| 18 | Grommet |
| 19 | Seal, Silicone (Sides (2)) |
| 19 | Seal, Silicone (Large (2)) |
| 20 | Shield, Heat (2) |
| 22 | Bracket, Ind. Lite |
| 23 | Bottom, Switch |
| 23 | Screw (6) |
| 23 | Vent, Lower Trim (Screw (2)) |