RC8646XDZ1 01 – SECTION

RC8646XDZ1 01 – SECTION

Products

PositionProduct
WA906B Whirlpool Cooktop Glass Scraper
Wire (12 Ga. 150 c Black)
18 Ga. 80~c Rating (Red)
Wire (14 Ga. 200 c Brown)
1
WPL LIT3189791
WPL LIT3189548
WPL LIT3190333
Clamp (2)
Hardware Asm.
WPL 3179589
Wire (14 Ga. 150 c Yellow)
Wire (14 Ga. 150 c Orange)
Wire (14 Ga. 150 c Green)
Wire, 25` Roll (Black 14 Ga.)
Wire, 25` Roll (Red 14 Ga.)
Wire, 25`` Roll (White 14 GA.)
Mounting Screws (10A X 2 (2))
242831 Whirlpool Oven Wire
Wire (14 Ga. 150 c Brown)
W10355051 Whirlpool Cooktop Cleaner Affresh (10 Oz)
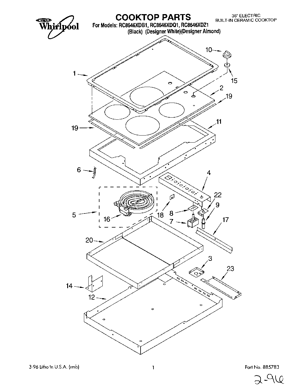
1Trim Ring, Cooktop (Black)
1Trim Ring, Cooktop (Designer White)
1Trim Ring, Cooktop (Designer Almond)
2Cooktop, Glass (Designer White)
2Cooktop, Glass (Black)
2Cooktop, Glass (Designer Almond)
3Shield, Heat (Exterior)
4Bracket, Switch Mounting
5Element, Surface (7`` R.F. 1700W)
5W10823694 Whirlpool Surface Element
5Element, Surface (6`` L.R. 1400W)
5Element, Surface (RR 2000W/1000W (Dual))
6Spring, Locator (8)
6WP486754 Whirlpool Compactor Screw
7WP486579 Whirlpool Air Conditioner Screw
7WP8203529 Whirlpool Infinite Switch
7Switch, Infinite (Use W/1400W Left Rear Burner)
83183956 Whirlpool Oven Seal Switch
9Light, Indicator
10Knob, Control (4) (Designer Almond)
10Knob, Control
10Knob, Control (4)
11Backer, Plate
12Cover, Bottom
14Bracket, Wiring
15Seal, Inifinite Switch
16Limiter, Temp (2400W - LF)
16Limiter, Temp (1700W - RF)
16Limiter, Temp. (1400 W - LR)
17Screw,
17Plate, Louver
18Grommet
19Seal, Silicone (Sides (2))
19Seal, Silicone (Large (2))
20Shield, Heat (2)
22Bracket, Ind. Lite
23Vent, Lower Trim (Screw (2))
23Screw (6)
23Bottom, Switch