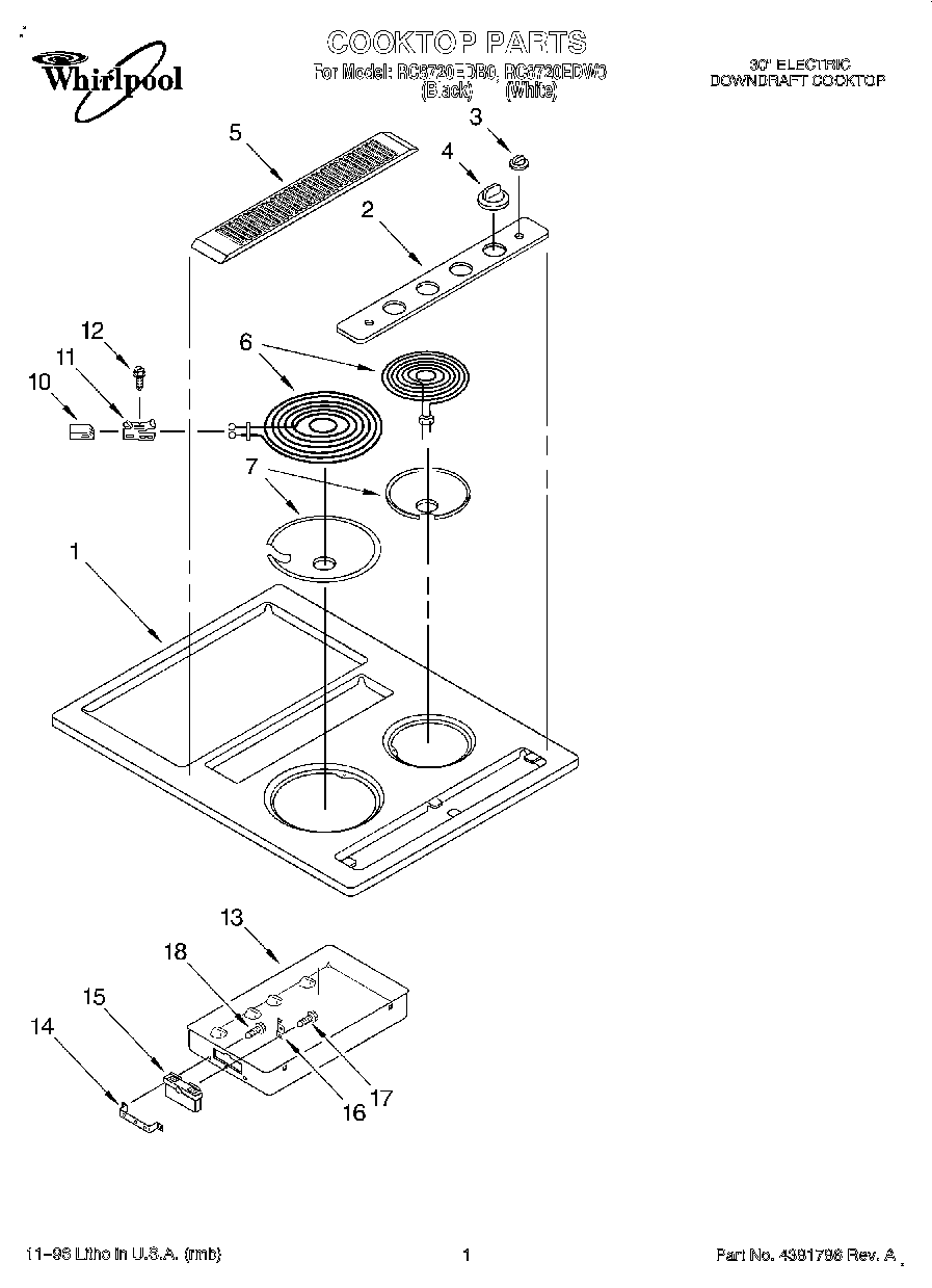
RC8720EDB0 01 – COOKTOP