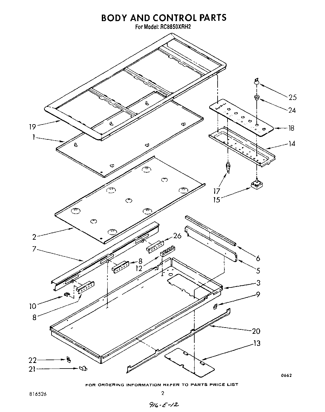
| 1 | Retainer, Insulation |
| 2 | Shield, Bottom |
| 3 | W10759522 Whirlpool Screw |
| 3 | Screw,10-24 x 1/2 |
| 3 | Box, Outer |
| 5 | Divider, Box |
| 6 | Pad, Foam |
| 7 | Shield, Wire |
| 8 | Receptacle, Female (2) |
| 10 | WP486579 Whirlpool Air Conditioner Screw |
| 10 | Terminal Female |
| 12 | WP8203546 Whirlpool Terminal Block |
| 12 | Hex Nut, 10-32 (6) |
| 12 | WPL 834649 |
| 13 | WPL 868959 |
| 13 | Cover, Access |
| 14 | Bracket, Control |
| 15 | Switch, Infinite (6) |
| 15 | Screw, 8-32 x 3/16 (2) |
| 17 | WPL 868433 |
| 18 | Panel, Control (Glass) |
| 18 | WPL 866454 |
| 19 | Frame, Cooktop |
| 20 | Shield, Front |
| 20 | Clip, Frame (4) |
| 20 | Screw, 10-24 x 1 (4) |
| 21 | Spacer, End |
| 22 | Clip, Receptacle (4) |
| 22 | Screw 10-24 x 1/2 |
| 24 | Bushing, Switch (4) |
| 25 | Control Knob (4) (Surface Unit) |
| 26 | Receptacle, Female |