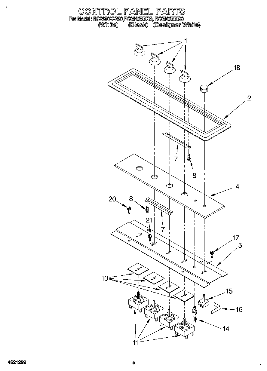
RC8900XXQ0 04 – CONTROL PANEL