RC8900XXW0 08 – OPTIONAL SOLID ELEMENT MODULEadmin2025-04-26T08:40:42+00:00RC8900XXW0 08 – OPTIONAL SOLID ELEMENT MODULE
Products
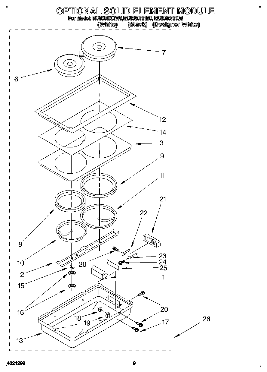
| Position | Product |
|---|
| 1 | WPL 786707 |
| 2 | WPL 786708 |
| 3 | WPL 786709 |
| 6 | Element 6`` |
| 7 | Element 8`` |
| 8 | Ring, Gasket (6``) |
| 9 | WPL 786715 |
| 10 | Gasket 6`` |
| 11 | Gasket 8`` |
| 12 | Trim, Top (Black) |
| 12 | Trim, Top-Chrome |
| 12 | Trim, Top (White) |
| 13 | Pan Module |
| 14 | WPL 786720 |
| 14 | Glass, Top (White) |
| 15 | Spring, Leaf |
| 16 | Nut, Hex |
| 17 | Screw, 8-32 X 3/8 (4) |
| 18 | WP488130 Whirlpool Air Conditioner Nut |
| 19 | Clamp |
| 20 | Screw, Sq. Drive |
| 21 | Plug Block, Module |
| 22 | Contact, Spade (4) |
| 23 | WPL 786726 |
| 24 | Screw (4) No.8-32 x 3/18 |
| 25 | Insulator |
| 26 | Module, Complete (Black Frame with Black Glass) |
| 26 | Module, Complete (White Frame with White Glass) |
| 26 | Module, Complete (Chrome Frame with Black Glass) |