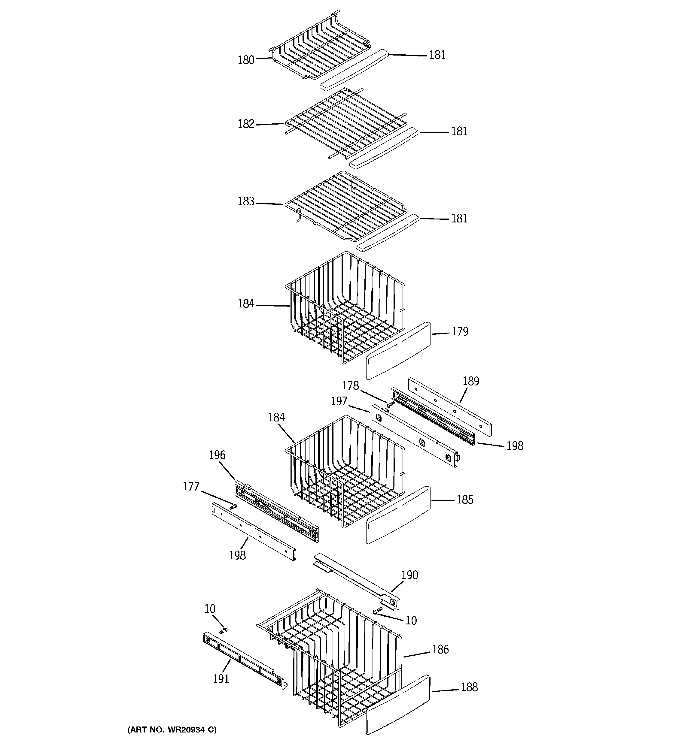
RCE24VGBBFSS FREEZER SHELVES