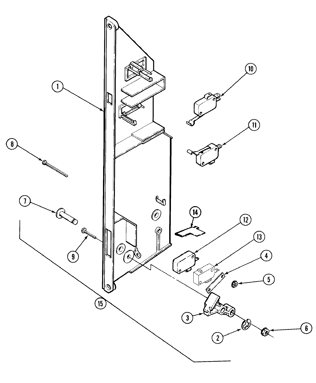
RCM48J-14T 04 – INTERLOCK SWITCHadmin2025-04-26T08:39:18+00:00RCM48J-14T 04 – INTERLOCK SWITCH ProductsPositionProduct1MAY Y020301332MAY 031100403MAY 021900494MAY Y011000435MAY Y030500416MAY 030500037MAY Y030700318MAY 030101179MAY 0301011410MAY Y0114008511MAY Y0114008412MAY 0114008313MAY Y0114008614MAY Y0218001615MAY Y04021550