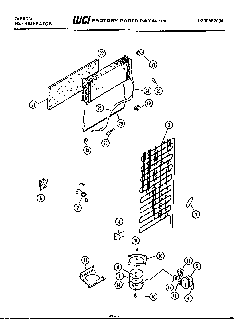
RD19F9DU3B 04 – SYSTEM PARTSadmin2025-04-26T08:42:03+00:00RD19F9DU3B 04 – SYSTEM PARTS ProductsPositionProduct*02448HARNESS-COMPRESSOR*02450WCI G189229-07*02449HOT TUBE REPAIR KIT15303305677 Frigidaire Replacement Filter Dryer Filters2WCI G1627393BRACKET-CONDENSER MOUNTING (4)45303006412 Frigidaire Refrigerator Cover Mounting Strap6WCI G1835847WCI G162547-018CLIP (4)9WASHER, COMPRESSOR MOUNTING (4)10218513300 Frigidaire Refrigerator Compressor Mount Grommet11NUT, LOCK12WCI G18581013WCI G182225-1114COMPRESSOR WITH ELECTRICALS15WCI G18695716DEFROST PAN & NUT17PLATE18BLOCK, LEFT SIDE19BLOCK, EVAPORATOR, RH20PLUG, EVAPORATOR INSULATION BLOCK, R H215303917954 Frigidaire Refrigerator Defrost Limit Thermostat Kit22EVAPORATOR235308000110 Frigidaire Refrigerator Evaporator/Heater Primary Strap24HEAT, EXCHANGE25WCI G125963-68265317842502 Frigidaire Defrost Heater27INSULATOR