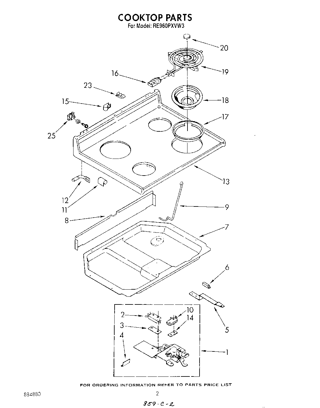
RE960PXVW3 02 – COOKTOP