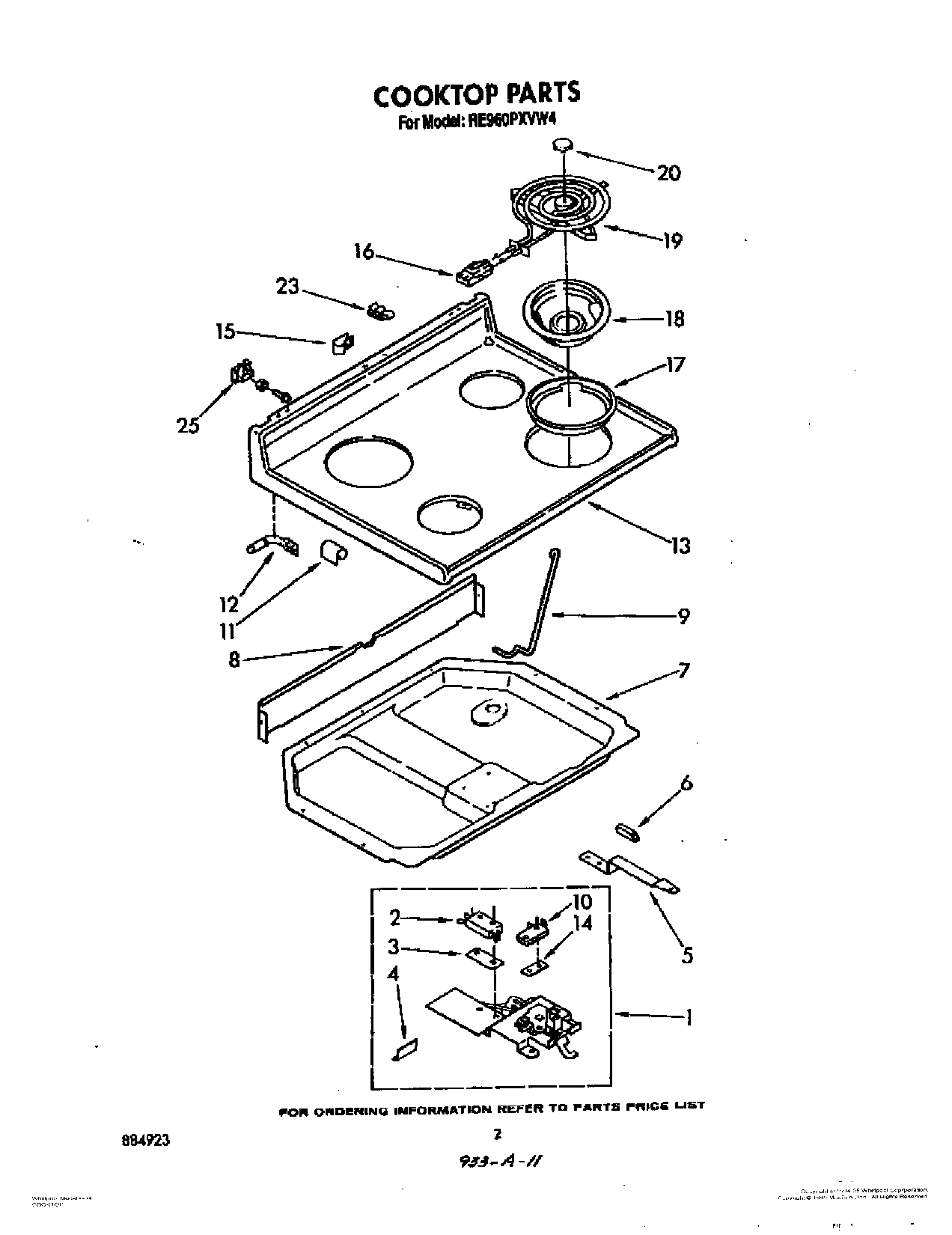
RE960PXVW4 02 – COOKTOP