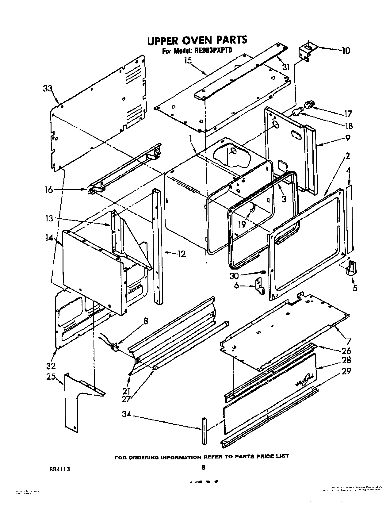
RE963PXPT0 05 – UPPER OVEN