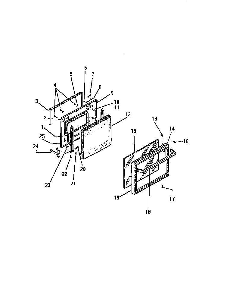
REC305CW0 04 – DOOR