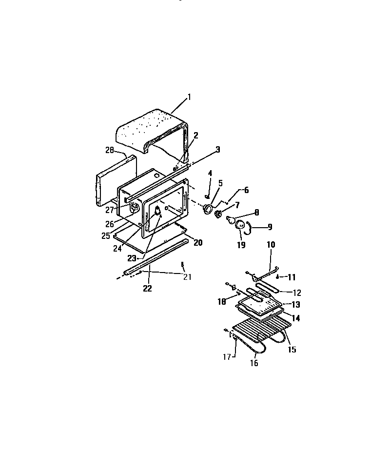
REC306CF0 05 – OVEN CAVITY